Iklan 300x250

39 snapper lt200 belt diagram

LT 2042 (2690578) - Snapper 42" Lawn Tractor, 20hp Parts ... LT 2042 (2690578) - Snapper 42" Lawn Tractor, 20hp > Parts Diagrams (15) Hide 38" & 42" Mower Deck - Belt, Idler Arm & Hitch Group 38" & 42" Mower Deck - Height Adjustment & Roller Bar Group 2010 Snapper LT 200 - YouTube About Press Copyright Contact us Creators Advertise Developers Terms Privacy Policy & Safety How YouTube works Test new features Press Copyright Contact us Creators ...

Mower drive belt - Ask Me Help Desk I have a snapper lt200 riding mower and the drive belt has came off and I have lost the book for the mower can anyone tell me where I can find a diagram showing me the proper way to put belt back on MOWERMAN2468 Posts: 3,214, Reputation: 243. Ultra Member : Mar 5, 2008, 05:57 PM ...

Snapper lt200 belt diagram

Snapper lt200 belt diagram

Snapper LT 200-What size belt(inches) should be used and ... I own a snapper scrambler zero turn mower yz18386bve. my belt fell off that drives the main deck blades and i need a belt diagram to help reinstall belt and spring pulley assembly. exploded diagrams f … read more Wiring Diagrams Snapper lt200 belt diagram. Mockingbird differences between book and movie venn diagram. Jin you e70469 wiring diagram. Peavey bass wiring diagram. Pmdx-126 wiring diagram. Wiring diagram cub cadet lt 1550 2006. Hella hid ballast light wiring diagram. 4 pin unbranded fog light switch wiring diagram. How do you replace the mower belt on a Snapper LT 200 44 ... Apr 10, 2010 — How do you replace the mower belt on a Snapper LT 200 44 inch cut lawn tractor. We can't get the belt past the idler - Answered by a ...1 answer · You have to take the idler pulley off of that bracket.

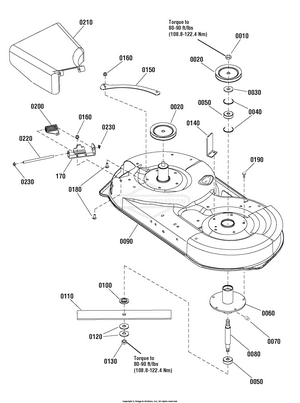
Snapper lt200 belt diagram. Snapper Illustrated Parts Diagrams Online - Lawnmower Pros Snapper Illustrated Parts Lists available online from LawnMowerPros and ready for your use. We are an Authorized Snapper Dealer with many Snapper Parts Lookup Diagrams. If you do not see the Snapper Parts Diagram you need, please complete the Lawn Mower Parts Request Form and we will be happy to assist you.: Snapper Illustrated Parts Diagrams Snapper Parts Diagrams - Donuts Snapper Parts Diagrams Find genuine Snapper parts fast with our mobile friendly parts lookup tool. Search by part number or model number & locate equipment parts diagrams. Call Us786-592-2094 Home Snapper Parts Lookup About Us Model Locator My Account Contact Us Log In My AccountMy Account My Account Menu My Cart Shopping CartToggle navigation Snapper 38" 18.5 Hp Hydro Drive Tractor Rmo Lt200 Series ... Snapper LT18538 (2690440) 38" 18.5 Hp Hydro Drive Tractor Rmo Lt200 Series Parts We Sell Only Genuine Snapper Parts Greased Bearing $11.96 Add to Cart Flange LockNut $6.21 Add to Cart Hub Cap $5.38 Add to Cart Wheel $6.45 Add to Cart Nut $5.14 Add to Cart Hair Pin $3.70 Add to Cart Washer $4.42 Add to Cart Seat Sensor Switch $12.68 Add to Cart Snapper Lt200 Belt Diagram - Wiring Diagrams Snapper Lt200 Belt Diagram Diagram of belt on deck on snapper lt 20hp - Poulan Inch Steel Deck HP question. Garden product manuals and free pdf instructions. Find the user manual you need for your lawn and garden product and more at ManualsOnline. SNAPPER LT Series Manual Online: Mower Belt Replacement.

Snapper 2690441 front-engine lawn tractor parts | Sears ... Snapper 2690441 front-engine lawn tractor parts - manufacturer-approved parts for a proper fit every time! We also have installation guides, diagrams and manuals to help you along the way! Snapper Lt125 Belt Diagram - schematron.org Snapper Lt125 Belt Diagram. schematron.org - Select Snapper LT () - Snapper 42 Lawn Tractor, 23HP, LT Series Diagrams and order Genuine Snapper Mowers: lawn & garden tractor Parts. 42" Mower Deck - Belt, Idler Arm & Hitch Group · 42" Mower. Snapper - LT, 46" 24HP Lawn Tractor LT Series Exploded View parts lookup by model. TractorData.com Snapper LT200 LT18538 tractor information Snapper LT200 LT18538 tractor overview. Lawn Tractors > Snapper > LT200 LT18538: Tractors: -Farm Tractors -Lawn Tractors -Compare tractors -Brand search: Classifieds -Tractors for sale -Place free ad; Sections: -Articles/News -Tractor Shows -Store -Contact; Snapper LT200 LT18538. Overview ; Engine ... Snapper 2690443 - LT2250, 50" 22 HP Hydro Drive Tractor ... Snapper 2690443 - LT2250, 50" 22 HP Hydro Drive Tractor RMO LT200 Series Parts Diagrams 44" & 50" Mower Deck - Belt, Idler Arm & Hitch Group 44" & 50" Mower Deck - Height Adjustment & Roller Bar Group 50" Mower Deck - Housing, Arbors & Blades Group - LT22500 Controls Group Decals Group Electrical Group Engine & Electric Clutch Group, 38" & 42"

SNAPPER Parts Diagrams Online - Lawnmower Pros SNAPPER Parts Diagrams by Model. SNAPPER 1696471-00 Snow Blower Parts Diagrams. SNAPPER 2167519B Parts Diagrams. SNAPPER N2167519B Parts Diagrams. SNAPPER NP2167519B Parts Diagrams. SNAPPER NP2187519BV Parts Diagrams. SNAPPER P216019KWV Parts Diagrams. SNAPPER P217019BV Parts Diagrams. SNAPPER P217019BVE Parts Diagrams. Snapper LT-200 Mower Belt Replacement - ManualsDump.com Snapper LT-200 Mower Belt Replacement . Mower Belt Replacement, IMPORTANT: Note the position of all belt guides relative to the belt and pulleys before loosening. Snapper Lt200 Belt Diagram - schematron.org Snapper Lt200 Belt Diagram Wiring Diagram Pictures Snapper Lt200 Belt Diagram 02.10.2018 2 Comments Diagram of belt on deck on snapper lt 20hp - Poulan Inch Steel Deck HP question. Garden product manuals and free pdf instructions. Find the user manual you need for your lawn and garden product and more at ManualsOnline. Belt Diagram For A Craftsman Lt2000 - Diagram Niche Ideas Need a belt drive diagram for a 2004 craftsman lt 2000 riding lawn mower. I have over 1 acre of bahia and various weeds that must be mowed weekly or it can get out of control. The craftsman lt2000 information resource from tractorbynet.com. 2003 dodge ram wiring diagram.

Snapper Mower Belt Diagram Discount Sale, UP TO 59% OFF | www ...

Snapper Mower Belt Diagram Discount Sale, UP TO 59% OFF | www ...

Snapper 50" 22 Hp Hydro Drive Tractor Rmo Lt200 Series ... Snapper LT2250 (2690443) 50" 22 Hp Hydro Drive Tractor Rmo Lt200 Series Parts We Sell Only Genuine Snapper Parts Ball Bearing $8.85 Add to Cart Flange LockNut $6.21 Add to Cart Hub Cap $5.38 Add to Cart Wheel $6.45 Add to Cart Nut $5.14 Add to Cart Hair Pin $3.70 Add to Cart Washer $4.42 Add to Cart Seat Sensor Switch $12.68 Add to Cart

SNAPPER LT-200 SERIES OPERATOR'S MANUAL Pdf Download | ManualsLib

SNAPPER LT-200 SERIES OPERATOR'S MANUAL Pdf Download | ManualsLib

Product Manuals & Parts List - Snapper Find Your Snapper. Manual & Parts List. Model numbers can be found on the Product Identification Tag located on your Snapper ® product. They are used to look up your product's Operator's Manual and Illustrated Parts List.

Snapper 2690980A/130.280121 - LT2452, 52

Snapper 2690980A/130.280121 - LT2452, 52" 24 HP Lawn Tractor ...

SNAPPER LT-200 SERIES OPERATOR'S MANUAL Pdf Download ... Snapper LT2044 Operator's Manual 42 pages. Summary of Contents for Snapper LT-200 Series. Page 1 S PER LT=200 Series 38" Mower Decks 1 8.SHP Hydro Tractors Mfg. No. Description IVlfg. N o. Description 1694888 38" Mower Deck 2690440 LT18538, 18.5HP & 38" Mower Deck 2690497 ELT18538, 18.5HP & 38" Mower Deck (CE) 1694977 38" Mower Deck (CE ...

PartsManual ELT18538 (2690685) Lfity KS.UFz XFix2

PartsManual ELT18538 (2690685) Lfity KS.UFz XFix2

LT200 manual.pdf - Mowers Direct LT-200 Series. 1730214. Revision K ... Use only factory authorized replacement parts when ... Mower blades and mower drive belt should come to a com-.40 pages

Where to find a diagram for drive belt replacement for - Fixya

Where to find a diagram for drive belt replacement for - Fixya

Snapper LT2250 (2690580) front-engine lawn tractor parts ... There are a couple of ways to find the part or diagram you need: Click a diagram to see the parts shown on that diagram. In the search box below, enter all or part of the part number or the part's name. Not all parts are shown on the diagrams—those parts are labeled NI, for "not illustrated".

Snapper MGT2000H Lawn Mower User Manual | Manualzz

Snapper MGT2000H Lawn Mower User Manual | Manualzz

Diagram of how to replace belt pm snapper LT12 ... - Fixya Diagram for fan belt repair 2.0L Engines See Figures 11, 12 and 13 The accessory drive belt for 2.0L engines has no provision for manual belt adjustment, since these engines use an automatic belt tensioner. Drive belt slack is taken up by the automatic tensioner.

Snapper LT145H33HBV, LT145H38HBV, LT150H38HKV, WLT145H38HBV ...

Snapper LT145H33HBV, LT145H38HBV, LT150H38HKV, WLT145H38HBV ...

Snapper 38 INCH Riding Lawn Mower ... - V-Belt Guys Snapper 38 INCH Riding Lawn Mower Replacement Belt Original Equipment Manufacturer Snapper OEM Part Number 29308 Machine Riding Lawn Mower Model 38 INCH Belt Type 4LK/AK Aramid VBG Replacement Id APPL680396 Technical Specifications: (Inches) (mm) Outside Circumference 88.00 2235.20 Top Width 0.50 12.70 Belt Depth 0.3125 7.9375 Bands Single Belt

Van-Europe, 901.611 , 91 DRIVER\S SEAT/CO-DRIVER\S SEAT, 180 ...

Van-Europe, 901.611 , 91 DRIVER\S SEAT/CO-DRIVER\S SEAT, 180 ...

Genuine Snapper Lawn Mower Belts - Donuts Belt Drive 22 Wbm 7103363YP. $17.36. Add To Cart. Quick View. Belt Drive 880268YP. $19.77. Add To Cart. Quick View. Belt Drive 37X138MA.

Snapper 2690714 - LT2044, 44

Snapper 2690714 - LT2044, 44" 20 HP Hydro Drive Tractor RMO ...

snapper lt 125 belt routing diagram - JustAnswer snapper lt 125 belt routing diagram. After changing the belt on a snapper re 110 the mower will not go forward but will go in reverse. It shifted into gear fine before changing the belt … read more. I have a Snapper 2009. I have a 2009 Snapper LT 125 and need.

2013-2017 JE,JF48 SPARE WHEEL STOWAGE & JACK PARTS CHEVROLET ...

2013-2017 JE,JF48 SPARE WHEEL STOWAGE & JACK PARTS CHEVROLET ...

Snapper 2690864 - ELT18538F, 38" 18.5HP Hydro Drive Euro ... Snapper 2690864 - ELT18538F, 38" 18.5HP Hydro Drive Euro Tractor RMO LT200 Series Parts Diagram for 38" & 42" Mower Deck - Belt, Idler Arm & Hitch Group JACKS SMALL ENGINES HAS JOINED THE NORTHERN TOOL FAMILY! Learn More » Order Status Get Support (open) 1-877-737-2787 Hours of Operation M-F 9AM-6PM ET Sat 9AM-5PM ET Contact Us » Name Guest

I need the diagram to put the belt on a 2011 Snapper LT 125 ...

I need the diagram to put the belt on a 2011 Snapper LT 125 ...

Snapper lt200 drive belt replacement - YouTube I believe this is the only video on YouTube that shows how to change the drive belt on a Snapper riding mower Lt 200 with a 50 inch deck.Today I am going to ...

Snapper LT-200 Features & Controls

Snapper LT-200 Features & Controls

How do you replace the mower belt on a Snapper LT 200 44 ... Apr 10, 2010 — How do you replace the mower belt on a Snapper LT 200 44 inch cut lawn tractor. We can't get the belt past the idler - Answered by a ...1 answer · You have to take the idler pulley off of that bracket.

Snapper RD1740 Ride on Mower 36

Snapper RD1740 Ride on Mower 36" Deck

Wiring Diagrams Snapper lt200 belt diagram. Mockingbird differences between book and movie venn diagram. Jin you e70469 wiring diagram. Peavey bass wiring diagram. Pmdx-126 wiring diagram. Wiring diagram cub cadet lt 1550 2006. Hella hid ballast light wiring diagram. 4 pin unbranded fog light switch wiring diagram.

Pin on SERVICE REPAIR MANUALS

Pin on SERVICE REPAIR MANUALS

Snapper LT 200-What size belt(inches) should be used and ... I own a snapper scrambler zero turn mower yz18386bve. my belt fell off that drives the main deck blades and i need a belt diagram to help reinstall belt and spring pulley assembly. exploded diagrams f … read more

Snapper SPX2352 (2691022-01) - 52 Lawn Tractor, 23 HP, SPX150 ...

Snapper SPX2352 (2691022-01) - 52 Lawn Tractor, 23 HP, SPX150 ...

1695967 Murray - 42

1695967 Murray - 42" Mower Deck (2011) - PartsWarehouse

Snapper Mower Belt Diagram Discount Sale, UP TO 59% OFF | www ...

Snapper Mower Belt Diagram Discount Sale, UP TO 59% OFF | www ...

Briggs & Stratton Yard Power (formerly Murray)_ ...

Briggs & Stratton Yard Power (formerly Murray)_ ...

advertencia | Manualzz

advertencia | Manualzz

Hardin Marine - Transom Assembly Chart

Hardin Marine - Transom Assembly Chart

Snapper 22Hp Hydro Drive Euro Tractor Rmo Lt200 Series ...

Snapper 22Hp Hydro Drive Euro Tractor Rmo Lt200 Series ...

Deck Belt Fits Snapper 1732955 1732955SM LT200 LT2042 LT23420 NXT19542  NXT2242 | eBay

Deck Belt Fits Snapper 1732955 1732955SM LT200 LT2042 LT23420 NXT19542 NXT2242 | eBay

Snapper 44

Snapper 44" 20 Hp Hydro Drive Rmo Tractor Lt200 Series ...

Snapper Mower Belt Diagram Discount Sale, UP TO 59% OFF | www ...

Snapper Mower Belt Diagram Discount Sale, UP TO 59% OFF | www ...

Snapper 200z Belt Diagram Online Sales, UP TO 70% OFF | www ...

Snapper 200z Belt Diagram Online Sales, UP TO 70% OFF | www ...

Snapper LT-200 Series : Lawn Tractor Operator's Manual

Snapper LT-200 Series : Lawn Tractor Operator's Manual

OEM FUEL TANK - Kawasaki [Jet ski] JS 750 A [750 SX] (A1-A4 ...

OEM FUEL TANK - Kawasaki [Jet ski] JS 750 A [750 SX] (A1-A4 ...

SNAPPER ELT160H422BV PARTS MANUAL Pdf Download | ManualsLib

SNAPPER ELT160H422BV PARTS MANUAL Pdf Download | ManualsLib

Snapper LT-200 Troubleshooting, Adjustment, & Service

Snapper LT-200 Troubleshooting, Adjustment, & Service

Snapper 200z Belt Diagram Online Sales, UP TO 70% OFF | www ...

Snapper 200z Belt Diagram Online Sales, UP TO 70% OFF | www ...

Polaris ATV 2018 OEM Parts Diagram for Body, Box, Rear ...

Polaris ATV 2018 OEM Parts Diagram for Body, Box, Rear ...

Volkswagen / Audi Vacuum Reservoir 443131541 - LLLParts

Volkswagen / Audi Vacuum Reservoir 443131541 - LLLParts

Snapper 200z Belt Diagram Online Sales, UP TO 70% OFF | www ...

Snapper 200z Belt Diagram Online Sales, UP TO 70% OFF | www ...

Snapper 2690864 - ELT18538F, 38

Snapper 2690864 - ELT18538F, 38" 18.5HP Hydro Drive Euro ...

Suitable for Snapper - KRAMP

Suitable for Snapper - KRAMP

Briggs & Stratton Yard Power (formerly Murray)_ ...

Briggs & Stratton Yard Power (formerly Murray)_ ...

Briggs & Stratton Yard Power (formerly Murray)_ ...

Briggs & Stratton Yard Power (formerly Murray)_ ...

Snapper pro 48 PTO swich wiring diagram mid 90s belt drive ...

Snapper pro 48 PTO swich wiring diagram mid 90s belt drive ...

Not for Reproduction

Not for Reproduction

0 Response to "39 snapper lt200 belt diagram"

Post a Comment

Iklan Atas Artikel

Iklan Tengah Artikel 1

Iklan Tengah Artikel 2

Iklan Bawah Artikel