Iklan 300x250

39 john deere 48c mower deck belt diagram

PDF John Deere 48c Mower Deck Belt Diagram Read PDF John Deere 48c Mower Deck Belt Diagram 30. $186.99 $ 186. 99. FREE Shipping. q&p 48inch Deck 3 Spindle Assemblies Replaces John Deere GY20454 GY20867 GY20962 GY 21098 82-359 48C mower deck parts for 355D - John Deere Parts and More John Deere Mulch Kit For 48C Convertible Mower Deck - BM20007. (36) $167.99. Usually available. Add to Cart. Quick View. John Deere Mulching Blade for 48-inch Mower Deck - M127673. (9) $13.30.

48C Mower Deck | Weingartz John Deere LX255 Lawn Tractor Parts 48C Mower Deck. NEED HELP FINDING PARTS? CALL US AT (855) 669-7278. John Deere LX255 Lawn Tractor Parts 48C Mower Deck Quick Reference Guide. Click the part number below to view and order John Deere LX255 Lawn Tractor Parts 48C Mower Deck, or search illustrated diagrams to determine the part you need.

John deere 48c mower deck belt diagram

John deere 48c mower deck belt diagram

john deere 48c belt diagram | eurekaconsumer.com John Deere Model 48C Mower Deck - 48-inch Deck Parts - Fits John Deere tractor models X710, X730, X734, X738, X739, X750, X754 & X758 BELT EBOOK | John Deere 48c Mower Deck Belt Diagram thetechub.com John Deere 48c Mower Deck Belt Diagram Acces PDF John Deere 48c Mower Deck Belt Diagram You the Graduate Grazing management might seem simple: just put livestock in a pasture and let them eat their fill. However, as Sarah Flack explains in The Art and Science of Grazing, the pasture/livestock relationship is incredibly complex. PDF John Deere 48c Mower Deck Belt Diagram Download Ebook John Deere 48c Mower Deck Belt Diagram Deck. John Deere ZTrak Zero-Turn Mowers with 42-in and 48-in Decks This quick parts reference guide will provide you with the most common John Deere LX255 Lawn Tractor Parts 48C Mower Deck. These John Deere Lawn Tractor Parts may include: Tune Up Kit, Spark Plug, Mower Blades, Traction

John deere 48c mower deck belt diagram. John Deere 48c Mower Deck Belt Diagram John Deere 48c Mower Deck Belt Diagram Author: miami.yr.com-2022-03-18T00:00:00+00:01 Subject: John Deere 48c Mower Deck Belt Diagram Keywords: john, deere, 48c, mower, deck, belt, diagram Created Date: 3/18/2022 4:03:29 AM PDF John deere 54c mower deck belt diagram Material Kevlar Original Equipment Manufacturer John Deere OEM Part Number M154960 Machine Riding Lawn Mower Model GX345 (54C Deck) Belt Type 5LK/BK Kevlar VBG Replacement Id APPL683745 Technical Specifications: (Inches) (mm) Outside Circumference 120.00 3048.00 Top Width 0.63 15.88 Belt Depth 0.375 9.525 Bands Single Belt John Deere 48c Mower Deck Belt Diagram Read Free John Deere 48c Mower Deck Belt Diagram international experts and are up-to-date with the latest concepts and techniques, including face transplantation, new trends in reconstructive and aesthetic surgery, and recent scientific advances. It will therefore appeal to those interested in plastic surgery education globally. John Deere LT180 (Deck 48C) Riding Lawn ... - V-Belt Guys John Deere LT180 (Deck 48C) Riding Lawn Mower Replacement Belt Original Equipment Manufacturer John Deere OEM Part Number M151649 Machine Riding Lawn Mower Model LT180 (Deck 48C) Belt Type 4LK/AK Aramid VBG Replacement Id APPL674183 Technical Specifications: (Inches) (mm) Outside Circumference 144.00 3657.60 Top Width 0.50 12.70 Belt Depth 0.3125

48C Mower Deck | Weingartz John Deere 345 Lawn Tractor Parts 48C Mower Deck. NEED HELP FINDING PARTS? CALL US AT (855) 669-7278. John Deere 345 Lawn Tractor Parts for 38 Mower Deck Quick Reference Guide. Click the part number below to view and order John Deere 345 Lawn Tractor Parts for 38 Mower Deck, or search illustrated diagrams to determine the part you need. John Deere Model 48C Mower Deck - 48-inch Deck Parts John Deere Model 48C Mower Deck - 48-inch Deck Parts - Fits John Deere tractor models X710, X730, X734, X738, X739, X750, X754 & X758 John Deere 48c Mower Deck Belt Diagram Download Ebook John Deere 48c Mower Deck Belt Diagram Pittsburgh "Fashion by Design explains how the elements and principles of design relate to fashion, based on the philosophy of the Bauhaus Experiment of the 20s and 30s, which is the foundation for art education in the United States. The book is structured into three parts: the stages of the John Deere 48C Mower Deck Repairs - YouTube 2004 John Deere LX277 mower deck with hundreds of hours of operation needs some TLC. Rough bearing in double pulley. Worn out tensioner spring clevis welded ...

John Deere SST18 Lawn Tractor Parts 48C Mower Deck - Weingartz A Complete Listing Of All John Deere Lawn Tractor Parts Is Available Using Illustrated Diagrams. This quick parts reference guide will provide you with the most common John Deere SST18 Lawn Tractor Parts 48C Mower Deck. These John Deere Lawn Tractor Parts may include: Tune Up Kit, Spark Plug, Mower Blades, Traction Drive Belt, Transmission Belt ... John Deere Lx277 Mower Deck Belt Diagram - Diagram Niche Ideas John deere lx277 owners manual pdf. The john deere 48 mower deck belt pattern diagram can be obtained from most john deere dealerships. John deere original equipment model lx277 maintenance kit + standard blades, 48c mower deck. Made to exceed oem requirements and longevity. Lx266, lx277, lx279, lx288 lawn mower, john deere. John Deere La145 Belt Routing Diagram - schematron.org John Deere Tractor*****Belts - 42 inch yellow deck belt John Deere LX Hydro Drive Belts - Deere 48C and 54C deck belts diagram.Z mower wiring diagram also dixon ztr john deere mower deck belt routing diagram in addition 52mra john deere won t charge will start together with john deere fuse box furthermore john deere z parts diagram diagrams ke ... John Deere Lawn & Garden Belt Routing Guide John Deere Lawn & Garden Belt Routing Guide All Images Belong to John Deere Document Created By: jd2007 MyTractorForum.com X700, X720, X724, X728, X729 * These machines are shaft driven therefore they have no traction drive belt. 48" Deck *54" Convertible Deck, 62" Convertible Deck, & 60" Drive-Over Belts Are Routed The Same

JOHN DEERE 48C Farm Equipment For Sale - 4 Listings ...

JOHN DEERE 48C Farm Equipment For Sale - 4 Listings ...

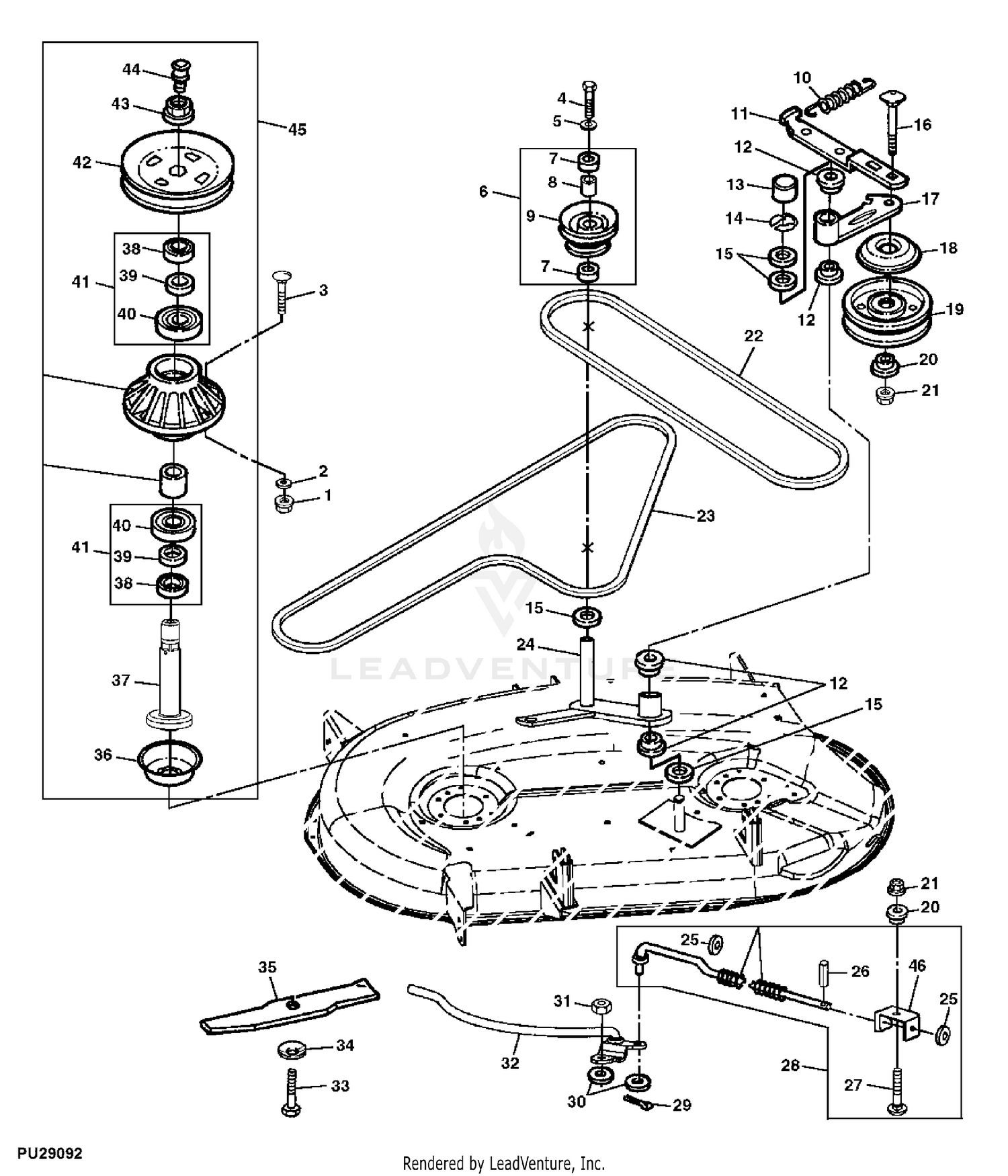
Mid-Mount-Mower-48C Parts Diagram - John Deere Parts and ... John Deere PARTS LOOKUP. Mid-Mount-Mower-48C Parts Diagram. Bracket, Upstop ( - 020000) Front Draft Arms, 48C. Gage Wheels, 48C. Gear Case. Gear Case 2. Lip Sections, 48C (Not for USA and Canada) Mower Deck and Discharge Chute, 48C. Mower Deck Shield, 48C inch (Not For Canada and USA) (030001 - ) Mower Depth Control, 48C ( - 020000) Mower Depth ...

OEM Replacement Belt

OEM Replacement Belt

John Deere 48" Lawn Mower Deck Belts and Grease - YouTube You can contact me atemail: justmike2575@gmail.comChecking the bearings to make sure the inner seal wasn't in place so the grease would go to the bearing and...

SOLVED: Diagram of how to put on a deck belt for 48inch - Fixya

SOLVED: Diagram of how to put on a deck belt for 48inch - Fixya

PDF John Deere 48c Mower Deck Belt Diagram John Deere Model 48C Mower Deck - 48-inch Deck Parts Replaces John Deere 3pk Spindle Assembly for Zero Turn Mower Z425 Z445 48" 54" Decks 48C, 54C, LX X Z-Trak, X475, X485, X495, X575, X585, X595, AM144377 3.5 out of 5 stars 13 $111.99 $ 111 . 99 Amazon.com: john deere 48c mower deck JOHN DEERE 48C MOWER DECK FOR JOHN DEERE X465- X595,

John Deere GX335 Lawn & Garden Tractor Power Flow Blower ...

John Deere GX335 Lawn & Garden Tractor Power Flow Blower ...

54C-Mower-Deck--PC9146 Parts Diagram - green-parts-direct.com 54C-Mower-Deck--PC9146 Parts Diagram. Adapter 48C: Three-Bag Powerflow Material Collection. Anti-Blowout Kit,48C inch: Mid-Mount Mower,48C inch. Anti-Blowout Kit,54C inch: Mid-Mount Mower,54C inch. Anti-Blowout Kit,62C inch: Mid-Mount Mower,62C inch. Attachment,7 bu. Hopper: Two-Bag Powerflow Material Collection System.

LX279 with 48C Deck

LX279 with 48C Deck

PDF John Deere 48c Mower Deck - cms.nationnews.com Read Free John Deere 48c Mower Deck Mower Deck Parts Rebuild Kit Spindles Assemblies Blades Idler Pulleys Belt 4.0 out of 5 stars 13 $174.49 $ 174 . 49 Amazon.com: john deere 48 inch mower deck parts Stock Number: 17097-17100-3 JOHN DEERE 48C MOWER DECK FOR JOHN DEERE X465- X595, AND X700 SERIES, Page 9/28

My New John Deere Riding Mower | Page 2 | Homesteading Forum

My New John Deere Riding Mower | Page 2 | Homesteading Forum

John Deere 48c Mower Deck Belt Diagram Read Free John Deere 48c Mower Deck Belt Diagram Star Almanac for This fascinating selection of photographs traces some of the many ways in which Wilmslow has changed and developed over the last century. Milk for the Family "The Farm Technical Manual is a reference book that attempts to bring

I need the diagram for the belt on a deere GT275 48 inch deck

I need the diagram for the belt on a deere GT275 48 inch deck

48C mower deck parts for GT235 - John Deere Parts and More 48C mower deck parts for GT235. ... John Deere Mower Deck Drive Belt Tightener Pulley - AM133924 (8) $118.96. Usually available. Add to Cart. Quick View. John Deere Mower Deck Front Roller Shaft - M111134 (4) $17.57. Usually available.

I need to replace my mower deck belt on a deere x320, 48 ...

I need to replace my mower deck belt on a deere x320, 48 ...

John Deere Model 48C Mower Deck - 48-inch Deck Parts John Deere Model 48C Mower Deck - 48-inch Deck Parts - Fits John Deere Models X400 Series, X575, X585, X595 and X700 Series2002 Model (SN M048CBD01000

John Deere Lawn Mower Decks for Sale - eBay

John Deere Lawn Mower Decks for Sale - eBay

John Deere 48 Edge Mower Deck Parts Diagram - Diagram ... John deere parts catalog download. Before tractor serial number 150,000. New john deere mower deck features a. 19 results for john deere 48 mower deck parts. John deere tractors, combines & lawn mowers service repair manuals, wiring diagrams, fault codes list; Find great deals for genuine oem john deere replacement spacer epc.

John Deere GX355 Diesel Lawn & Garden Tractor Power Flow ...

John Deere GX355 Diesel Lawn & Garden Tractor Power Flow ...

How To Put A Belt On A John Deere Lawn Mower Step By Step? Clean The Deck. Once the deck section and old belts are off, blow compressed air to eliminate the excess debris. Wrap The Belt. According to the John Deere lawnmower diagram, if you're satisfied with the cleaning, feed your new belt around the pulley. Take Off The Belts (If Needed) Some of the pulleys might be a bit stubborn to deal with.

John Deere 48A - Mower Tractor - Consumer Items - Ritchie List

John Deere 48A - Mower Tractor - Consumer Items - Ritchie List

48C mower deck parts for 345 - John Deere Parts and More 48C mower deck parts for 345. ... John Deere Mower Deck Drive Belt Tightener Pulley - AM133924 (8) $118.96. Usually available. Add to Cart. Quick View. John Deere Mulch Kit For 48C Convertible Mower Deck - BM20007 (36) $167.99. Usually available.

GX345 Deck compatibility - will a 48c from an X320 fit? | My ...

GX345 Deck compatibility - will a 48c from an X320 fit? | My ...

PDF John Deere 48c Mower Deck Belt Diagram Download Ebook John Deere 48c Mower Deck Belt Diagram Deck. John Deere ZTrak Zero-Turn Mowers with 42-in and 48-in Decks This quick parts reference guide will provide you with the most common John Deere LX255 Lawn Tractor Parts 48C Mower Deck. These John Deere Lawn Tractor Parts may include: Tune Up Kit, Spark Plug, Mower Blades, Traction

John Deere X300 deck belt change. With details

John Deere X300 deck belt change. With details

John Deere 48c Mower Deck Belt Diagram Acces PDF John Deere 48c Mower Deck Belt Diagram You the Graduate Grazing management might seem simple: just put livestock in a pasture and let them eat their fill. However, as Sarah Flack explains in The Art and Science of Grazing, the pasture/livestock relationship is incredibly complex.

John Deere 48C/54C Double Pulley Repair (X300 & X500 series tractors)

John Deere 48C/54C Double Pulley Repair (X300 & X500 series tractors)

john deere 48c belt diagram | eurekaconsumer.com John Deere Model 48C Mower Deck - 48-inch Deck Parts - Fits John Deere tractor models X710, X730, X734, X738, X739, X750, X754 & X758 BELT EBOOK | John Deere 48c Mower Deck Belt Diagram thetechub.com

John Deere GT235 Deck Drive Issue | My Tractor Forum

John Deere GT235 Deck Drive Issue | My Tractor Forum

John Deere GX345 Lawn & Garden Tractor 48C MOWER -PC9078 ...

John Deere GX345 Lawn & Garden Tractor 48C MOWER -PC9078 ...

Z425 - 48-in. Mower Deck

Z425 - 48-in. Mower Deck

John Deere GT235 Deck Drive Issue | My Tractor Forum

John Deere GT235 Deck Drive Issue | My Tractor Forum

AuctionTime.com | JOHN DEERE 48C Online Auctions

AuctionTime.com | JOHN DEERE 48C Online Auctions

Double pulley adjustment, 48 mower deck | My Tractor Forum

Double pulley adjustment, 48 mower deck | My Tractor Forum

Installation, Repair and Replacement of John Deere LX266 ...

Installation, Repair and Replacement of John Deere LX266 ...

John Deere 48C Convertible Mower Deck 48 LT166 LT180 LT170 ...

John Deere 48C Convertible Mower Deck 48 LT166 LT180 LT170 ...

48-in. (122-cm) Accel Deep™ (48A) Mower Deck cuts clean and ...

48-in. (122-cm) Accel Deep™ (48A) Mower Deck cuts clean and ...

John Deere Lawn Mower Deck belt replacement

John Deere Lawn Mower Deck belt replacement

X360 - 48-in. X (Rotatable Wheels) Mower Deck

X360 - 48-in. X (Rotatable Wheels) Mower Deck

JOHN DEERE X300 48C Mower Deck 48

JOHN DEERE X300 48C Mower Deck 48" X320 X324 X340 X360 X500 ...

Belts John Deere

Belts John Deere

John Deere X320 Tractor Select Series (With 48 inch / 54 inch ...

John Deere X320 Tractor Select Series (With 48 inch / 54 inch ...

John Deere L&G Belt Routing Guide | My Lawnmower Forum

John Deere L&G Belt Routing Guide | My Lawnmower Forum

How To: Install The Mower Deck on a John Deere LX/GT Series Lawn Tractor Pt  1 of 2

How To: Install The Mower Deck on a John Deere LX/GT Series Lawn Tractor Pt 1 of 2

John Deere GX345 Lawn & Garden Tractor Power Flow Blower ...

John Deere GX345 Lawn & Garden Tractor Power Flow Blower ...

John Deere Lawn Mower Accessory LX27 User manual | Manualzz

John Deere Lawn Mower Accessory LX27 User manual | Manualzz

John Deere 48C/54C Double Pulley Repair (X300 & X500 series ...

John Deere 48C/54C Double Pulley Repair (X300 & X500 series ...

John Deere Z445 (48C Deck (S/N 100001>)) Zero Turn Mower ...

John Deere Z445 (48C Deck (S/N 100001>)) Zero Turn Mower ...

John Deere The Edge Cutting System 48-inch High-Capacity (HC) Mower Deck -  BM23707

John Deere The Edge Cutting System 48-inch High-Capacity (HC) Mower Deck - BM23707

John Deere SST/18 SST/16 48 Inch Deck 48C Convertible ...

John Deere SST/18 SST/16 48 Inch Deck 48C Convertible ...

John Deere LT180 Lawn Tractor (With 48INCH C Mower Deck ...

John Deere LT180 Lawn Tractor (With 48INCH C Mower Deck ...

John Deere LT180 Lawn Tractor (With 42INCH M Mower Deck ...

John Deere LT180 Lawn Tractor (With 42INCH M Mower Deck ...

John Deere LX280 Lawn Tractor 48C MOWER -PC9329 Sheave,Idlers ...

John Deere LX280 Lawn Tractor 48C MOWER -PC9329 Sheave,Idlers ...

0 Response to "39 john deere 48c mower deck belt diagram"

Post a Comment

Iklan Atas Artikel

Iklan Tengah Artikel 1

Iklan Tengah Artikel 2

Iklan Bawah Artikel