41 12.5 hp briggs and stratton carburetor diagram
12 hp briggs and stratton carburetor linkage diagram. For 3.5 and 4 hp max series and all quantum and 5 hp horizontal. Inside the box will be an exploded diagram of the carb which will make it relativly simple to rebuild first of all what kind of engine do you have. The top countries of suppliers are china, taiwan. 480 x 360 jpeg 32 кб. Bookmark File PDF 12 Hp Briggs And Stratton Engine Diagramstratton 12.5 hp carburetor at eBay.com. We have a great online selection at the lowest prices with Fast & Free shipping on many items! briggs and stratton 12.5 hp carburetor for sale | eBay favorite this post Oct 12 Briggs and stratton 4.5 HP $30 (isp > Port Jefferson station) pic hide
Can anyone direct me to instructions on how to use the Briggs & Stratton 696146 Carburetor Overhaul Kit? First time I took it apart, I didn’t get everything reassembled correctly. I’ve tried to follow some videos but what I really want is like a shop manual. I’d appreciate any help.

12.5 hp briggs and stratton carburetor diagram
Remove the fuel bowl from the carburetor body. The fuel bowl may be attached with either a bolt or the high-speed mixture screw. Push the hinge pin out of the carburetor body with a small pin or pin punch. Take care to tap only the pin to avoid damaging the carburetor body. Remove the float assembly, inlet needle valve and fuel bowl gasket. catalog, as a means of submitting your suggestions to Briggs & Stratton. All of us at Briggs & Stratton wish you the best of luck in your business and future sales. Please visit Briggs & Stratton at our Web Site. www.briggsandstratton.com Good Luck and Good Selling. 12 HP Briggs and Stratton Carburetor; 12.5 HP Briggs and Stratton Carburetor; 13 HP Briggs and Stratton Carburetor; 13.5 HP Briggs and Stratton Carburetor;
12.5 hp briggs and stratton carburetor diagram. This specific image (Briggs And Stratton Throttle Linkage Diagram] Carburetor Governor for Briggs And Stratton Vanguard Parts Diagram) earlier mentioned is usually labelled using: briggs and stratton 16 hp vanguard parts diagram, briggs and stratton 18 hp vanguard parts diagram, briggs and stratton vanguard parts breakdown, . Briggs and Stratton 12 5 Hp Carburetor affiliation Diagram new Bolens . Briggs and stratton 8hp throttle and also governor setup 5tractorguy. 8 hp briggs and also stratton carburetor linkage diagram. Briggs and stratton governor affiliation diagrams here are the diagrams because that the much more popular together head engines. ApplianPar Carburetor 491031 490499 491026 281707 for Briggs Stratton 12HP Engine with 2 Gaskets. 4.3 out of 5 stars. 73. $25.49. $25. . 49. Get it as soon as Wed, Dec 15. FREE Shipping by Amazon. I'm new here and this may be the wrong place to ask but I was given a craftsman 20.5 HP ride on mower. It doesn't run at all and doesn't seem to even try. I replaced the ignition switch because it was bad. I tried new plugs and New ignition coil still nothing. It doesn't even seem to try. Just turns over and nothing. Any suggestions ?
I have an old push mower. I've used it about three seasons. Before that my dad had bought it used, and then he never used it much. When I first inspected it closely three or four years ago, it was very old-looking, but upon closer inspection, it seemed like it probably just set outside for years and never got used very much. It used to run too lean and be hard to start, now it runs way too rich and stumbles. I'm thinking of replacing the carburetor, but the other thing it really needs is an... Really want the kart to work again. All Topics Topic Home & Garden Tools & Power Equipment » 12.5 hp briggs and stratton engine diagram. 0409309908 Posts: 1, Reputation: 1. New Member. Nov 5, 2012, 04:15 AM. 12.5 hp briggs and stratton engine diagram. I have a Ride on mower with a 12.5 Briggs & Stratton engine. When mowing on the more sloping parts it starts blowing Blue/white ... Here are the diagrams for the more popular L-head engines. I will post the others as soon as I get them scanned. These images belong to the Briggs and Stratton Corporation. They came from the shop manual, P/N 270962, 1995 Revision. Figure 41 is generally the same setup for all 3.0 to 4.0 HP engines with tank mounted below carburetor.
24 Hp Briggs Intek Carb Diagram. If you know the answer to this question please register to join our limited beta program and. 42 out of 5 stars 22. Dosens 791230 Carburetor Carb Replacement For Briggs Stratton V Twin 4 Cycle 20hp 21hp 23hp 24hp 25hp Vertical Engines Replace 799230 699709 John. I’m new to small engines but I’ve seen 3 Briggs mowers with what seems like carburetor problems. Is it just my luck or has anyone else had the same problems? If so can you help? Briggs and Stratton Carburetor for 794572 Small EngineAssembly fits B&S Intek 59.95 19.99 SALE. Briggs and Stratton Carburetor for 794572 Small EngineAssembly fits B&S Intek 74.98 25.80 SALE. Briggs and Stratton Small Engine Carburetor for 794572 Assembly 74.98 25.80 SALE. Carburetor 794572, used in 18HP Intek, 31C707 - 31B775 - 31A707/777 Assy ... Briggs and Stratton 12H802-2684-B1 Carburetor Exploded View parts lookup by model. Complete exploded views of all the major manufacturers. It is EASY and FREE
799868 Carburetor with Air Filter Spark Plug Tune Up Kit replaces for Briggs & Stratton Craftsman 694882, 698444, BS-799868, 498254, 798170, 498170, 49-817-0, 497347, 498966 and 497314.4-7 hp Engines. 4.6 out of 5 stars. 312.
I have a 2008 Yard Machine MTD 30” snow thrower and I need to replace the carburetor. I have a new carburetor to replace the old one that is leaking. I have removed the plastic parts that covers the carburetor, the gas tank as well as fuel hose and primer hose. My hope was it would slip of over the 2 extending bolts but this one is stuck. I have tapped it with a small hammer to try and loosen it but it does not move. Now I am not sure what to try next without damaging anything. First post he...
I have a briggs and stratton 5HP 130232 model. The carb replacement or repair doesn't seem bad either way. The problem I have is that gas tank is rusty. I want to replace it but, those are like $80-100. Is there a way to retro fit those carbs with a fuel pickup tube? To gravity or like a regular 1 gallon gas can?
I have a carburetor with two rods affixed. The engine is a Briggs and Stratton model 281707-0412-01. It is a 12hp vertical. The original rods went somewhere unknown. I have two holes on the engine that might accommodate a rod. One is on a lever attached to the governor by a very strong spring. Another is on a lever operated by the speed control.
Very common the float on the carburetor needs repaired because carburetor is getting to much fuel which causes it to push to much into the piston and causes ...
Carburetor For Huskee 35 Ton Log Splitter 12HP Briggs And Stratton. Rated 5.00 out of 5 based on 2 customer ratings. ( 2 customer reviews) $ 83.79 $ 53.79. FREE SHIPPING! 4.8. Only 1 left in stock. Carburetor For Huskee 35 Ton Log Splitter 12HP Briggs And Stratton quantity. 01234567890123456789.

Air Filter Carburetor Kit For Walbro LMS 32 10HP-12.5HP Rototiller Riding Mower-buy at a low prices on Joom e-commerce platform
Briggs And Stratton Wiring Diagram – briggs and stratton wiring diagram, briggs and stratton wiring diagram 12.5 hp, briggs and stratton wiring diagram 12hp, Every electric structure is composed of various distinct pieces. Each part ought to be set and connected with different parts in specific way. If not, the structure will not work as it ought to be.
Briggs and Stratton 12.5 HP I/C Quiet Engines - Model Series 286700. Easy Online shopping.
How to Adjust a Briggs & Stratton Carburetor. Adjusting the carburetor of the Briggs and Stratton equipment is procedure that can be done in just a few minut...
Parts Lookup Tool. This interactive page will allow you to find the exact replacement part you need, using official parts diagrams from the manufacturer. Even better, once you find your part, you can easily add it to your cart and check out - getting you up and running even faster. To begin, please click the brand of your engine or equipment.
Briggs and Stratton Illustrated Parts Diagrams available online from LawnMowerPros and ready to assist you in finding your repair parts. We are an Authorized Briggs and Stratton Small Engine Dealer carrying a large selection of Illustrated Parts Lists.
Find Your Manual or Parts List. Find the operator's manual or illustrated parts list for your Briggs & Stratton engine or product by following the instructions below. Looking for a part number? Use the Parts Lookup tool to find your part number, availability & pricing, and order online. 1. Locate your model number.
12 Hp Briggs And Stratton Wiring Diagram briggs and stratton wiring diagram 12 5 hp smb3 info, 12 hp briggs and stratton tyres2c, where is my small engine wiring diagram briggs amp stratton, 12 5 hp briggs and stratton wiring diagram free download, 12 hp briggs amp stratton wiring schematic ask me help desk, electrical schematic amp wiring
this one. Merely said, the 12 hp briggs stratton engine diagram is universally compatible in the same way as any devices to read. Briggs and Stratton Power Built 12.5 HP Flathead Model 28 Rebuild, Teardown / Reassembly PART 1 Teardown and Inspection of Briggs and Stratton 12.5 HP I/C Flathead Engine All About Briggs \u0026 Stratton Synchro
Briggs stratton manuals these are the genuine briggs and stratton manuals. I am hoping to find someone with an owners manual. I have a sears roto spader tiller model no785 291040 with a briggs stratton 4 hp power reverse engine. briggs and stratton 5hp carburetor linkage diagram
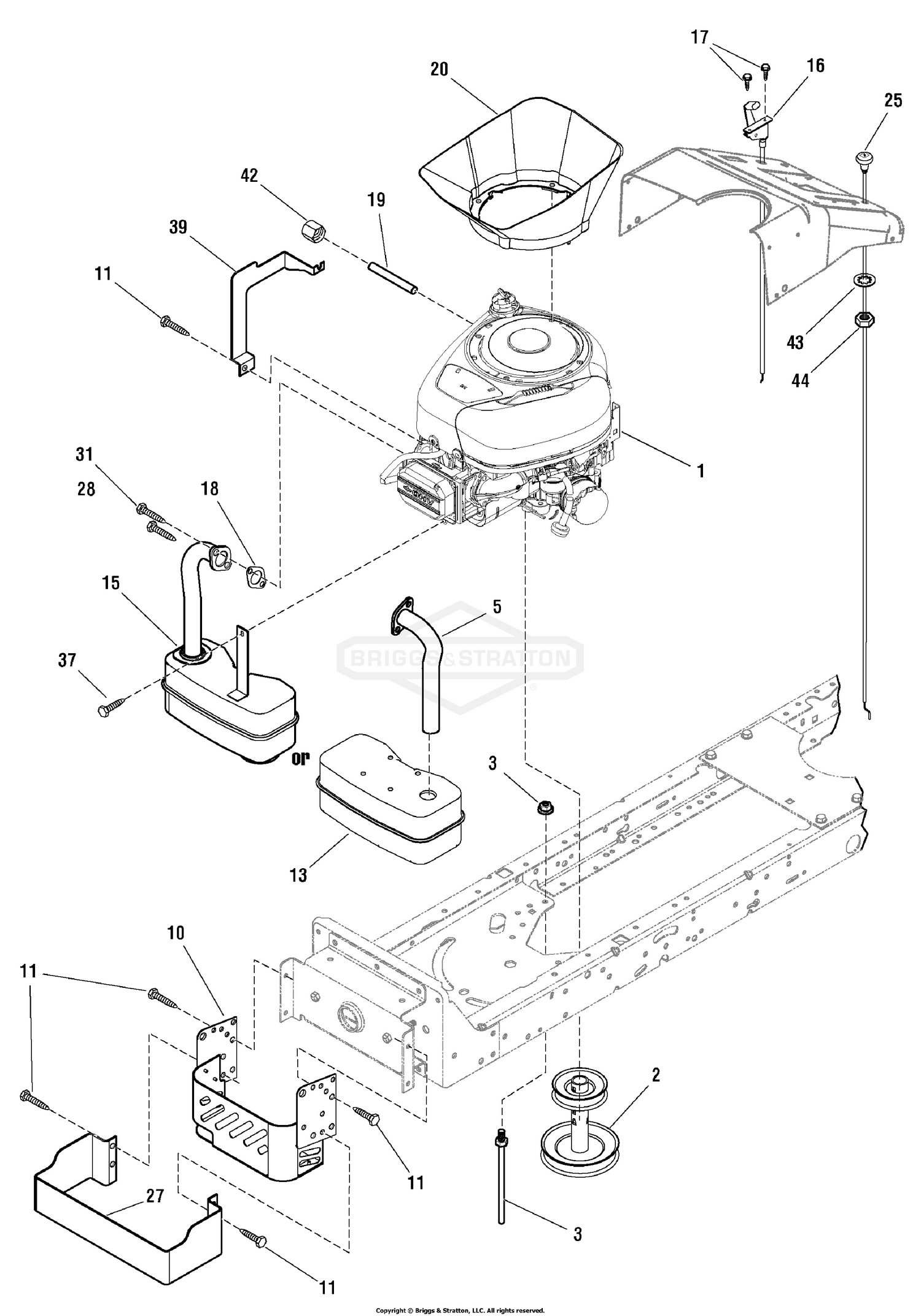
Description: Briggs And Stratton 31C707-0154-E1 Parts Diagram For Carburetor with regard to Briggs And Stratton Carburetor Parts Diagram, image size 1180 X 1408 px, and to view image details please click the image.. Here is a picture gallery about briggs and stratton carburetor parts diagram complete with the description of the image, please find the image you need.
I've checked the oil and it's fine, need to replace the gas, but other than that it won't start and I can figure out why. Could it possibly be the carb?
Briggs and Stratton 219802-0117-E1 Parts Diagrams. Parts Lookup - Enter a part number or partial description to search for parts within this model. There are (314) parts used by this model.
Briggs Engine Parts. Repair your Briggs and Stratton engine with air filters, spark plugs, oil filters, starters, and Briggs maintenance kits. OEM Briggs parts for Vanguard, ELS, Pro Series, Intek and Quantum engines. Briggs & Stratton Parts Diagram Lookups. How to find your Briggs Model number?
stratton 5000 generator wiring diagram best, 20h p brigg engine stratton carburetor diagram best, 12 5 hp briggs and stratton wiring diagram free download, 8 hp briggs and stratton engine governor linkage diagram, 1 2 hp briggs and stratton engine diagram best place to, where is my small engine wiring diagram briggs amp stratton, 11 hp
The 12.5 HP Briggs and Stratton engine has an idle speed adjustment screw below the fuel bowl of the carburettor that can be adjusted in just a few minutes to keep the engine running efficiently. Remove the air cleaner assembly from the top of the Briggs and Stratton 12.5 HP engine and set it aside.
So you want to learn the right way to rebuild these carbs do you boy.. well here you go lets get urrr done .
Anyone else have a similar story?
About Throttle Stratton Briggs And Spring Diagram . how throttle choke governor linkage & spring is setup video showing how the linkages and governor spring is setup on a older style briggs and stratton e piece flow jet carburetor monly found 12 5 briggs stratton carburetor diagram imageresizertool 12 5 briggs stratton carburetor diagram 12 5 briggs carburetor parts diagram briggs carb.
Afterwards, it fired right up and the problem I was having before seem to be fixed (with the choke). Now I’ve discovered that I have no throttle control and it seems to be stuck at three-quarter throttle. The throttle cable does move the mechanism beneath the carburetor, I did not have to remove that. What’s the first thing I should check please?
12 HP Briggs and Stratton Carburetor; 12.5 HP Briggs and Stratton Carburetor; 13 HP Briggs and Stratton Carburetor; 13.5 HP Briggs and Stratton Carburetor;
catalog, as a means of submitting your suggestions to Briggs & Stratton. All of us at Briggs & Stratton wish you the best of luck in your business and future sales. Please visit Briggs & Stratton at our Web Site. www.briggsandstratton.com Good Luck and Good Selling.
Remove the fuel bowl from the carburetor body. The fuel bowl may be attached with either a bolt or the high-speed mixture screw. Push the hinge pin out of the carburetor body with a small pin or pin punch. Take care to tap only the pin to avoid damaging the carburetor body. Remove the float assembly, inlet needle valve and fuel bowl gasket.
0 Response to "41 12.5 hp briggs and stratton carburetor diagram"
Post a Comment