Iklan 300x250

36 John Deere 111 Drive Belt Diagram

Laki-laki Ini Berupaya Setubuhi Tetangga Usai Mengintip Mandi Feb 15, 2022 · Jeprianor bersama Budi Febian (DPO) berupaya menyetubuhi DL alias DW (23) usai mengintip korban mandi di barak yang ditempatanya tersebut. 129 John Deere Service Repair Manuals PDF... | Truckmanualshub.com Home » John Deere » John Deere Tractor's & Combines Service Repair Manuals PDF. John Deere tractors, combines & lawn mowers service repair manuals, spare parts catalogs and wiring diagrams. John Deere 132 BELT PICKUP WITH PLATFORM parts catalog.pdf.

John Deere Lt160 Drive Belt Diagram - Wiring Diagram Source The drive belt on the john deere lt160 is difficult to access as it is located behind the engine. Replace the traction belt on my john deere lt160shredded john deere lawn tractor parts model lt155 john John deer 310sg rear drive shaft yoke at transmition side broke as it turned it broke 4 wire harness.

John deere 111 drive belt diagram

John deere 111 drive belt diagram

PDF cyltab | Deere Power Systems Group OMRG25204 (20MAY96) | Forum Belt drive systems equipped with automatic (spring) belt tensioners cannot be adjusted or repaired. An engine wiring diagram is provided in this section to help isolate electrical problems on power units using John Deere wiring harness and instrument (gauge) panel. belt diagram for john deere 111 - TractorByNet | Forum anyone have a diagam how to put the drive belt on a John Deere 111. Is this the belt that drive the mower deck blades? Subaru EJ20G Engine - australiancar.reviews A single timing belt was used to drive the four camshafts, while the back of the belt also drove the water pump. The timing belt consisted of a strong and inflexible core wire, wear-resistant canvas and heat-resistant rubber material. For quiet operation, the teeth on …

John deere 111 drive belt diagram. SOLVED: Can anyone help get me the complete diagram to - Fixya The drive belt of my John Deere 111 tractor is broken. Can anyone help me to get the drive belt diagram for a 111? Thanks a lot! Look inside the hood I have seen belt diagrams there or on top of the deck. When all else fails Go to the JD Dealer they will gladly help. John Deere Parts Search for all John Deere Models Buy Genuine OEM John Deere Parts. Search huge inventory of Tractor Parts, Lawnmower Parts, Blower Parts, Engine Parts and ship it Today! We also offer a comprehensive free parts search using illustrated diagrams. We have been in business since 1945 and have been recognized as leaders in... John Deere and Powertech Engines, Diagnostic, Repair, Technical... Illustrated Factory Component Technical Manual for John Deere Diesel OEM Engines PowerTech 6.8 & 8.1L Compressed Natural Gas - Operation and Diagnostic This manual contains high quality images, circuit diagrams, instructions to help you to operate, maintenance, diagnostic, and repair your truck. Belts | Replacement Parts | Genuine Parts | John Deere products John Deere Store. Secure Checkout. Not applicable on factory installed attachments/packages and cannot be combined with any other offer. Valid at participating John Deere Ag & Turf dealerships in United States and JohnDeereStore.com.

John Deere 111 lawn tractor: review and specs - Tractor Specs The John Deere 111 is a 2WD lawn tractor from the 100 Lawn series. This tractor was manufactured by the John Deere in Horicon, Wisconsin, USA from 1979 to 1985. The John Deere 111 riding mower is equipped with a 0.4 L single-cylinder gasoline engine and Belt-driven gear transmission with 5... PDF Operator's manual John Deere Worldwide Commercial and Consumer Equipment Division All rights reserved Previous Editions COPYRIGHT© 2009, 2010, 2011. 4. Remove belt (B) from drive sheave (C), and release tension on sheave nut (A). 5. To install the belt on the drive sheave, rotate idler sheave nut clockwise... JOHN DEERE Tractor & Combine Harvester Service Manuals PDF John Deere HD300 Manual PDF. John Deere L100 L108 L111 L118 L120 L130 Lawn Tractors Operator's Manual PDF. Hello, I am needing the wiring diagram through my entire motorhome. . All we have is the manual that does not explain much but what to check for or what to do .. any diagrams... JD 111 Engine to deck belt diagram | My Tractor Forum Just bought a 111 for 50 bucks and deck was with it but had been removed Can anyone post a pic for the engine to deck belt routing diagram Its probably simple and I can eventually figure it out but my friend has a STX30 and his belt does a complete twist and I'm not sure if mine should do the.

John Deere 111 | Tech Support Forum John Deere 111. Jump to Latest Follow. :wave: Snoopdogie - I have found a good source of info on the John Deer web site - here is the link to the info on their 111 model series lawn tractors - hope this helps. John Deere 3029, 4039, 4045, 6059, 6068 Repair Manual View and Download John Deere 3029 instruction manual online. This Component Technical Manual contains service information on the 3029, 4039, 4045, 6059 and 6068 engines produced by JOHN DEERE Saran (FRANCE) for the applications listed in the application chart. TractorData.com John Deere 111 tractor information → 111H. Production. Manufacturer. John Deere. Type. Lawn tractor. Lawn Tractors and Riding Mowers published in 1982, by John Deere. PDF PowerTech ™ 4.5L John Deere Power Systems. Litho in u.s.a. Moline, Illinois All rights reserved A John Deere ILLUSTRUCTION® Manual Previous Editions Copyright © 1996, 1998, 2000, 2002, 2004, 2005. Keep hands, feet , and clothing from power-driven parts.

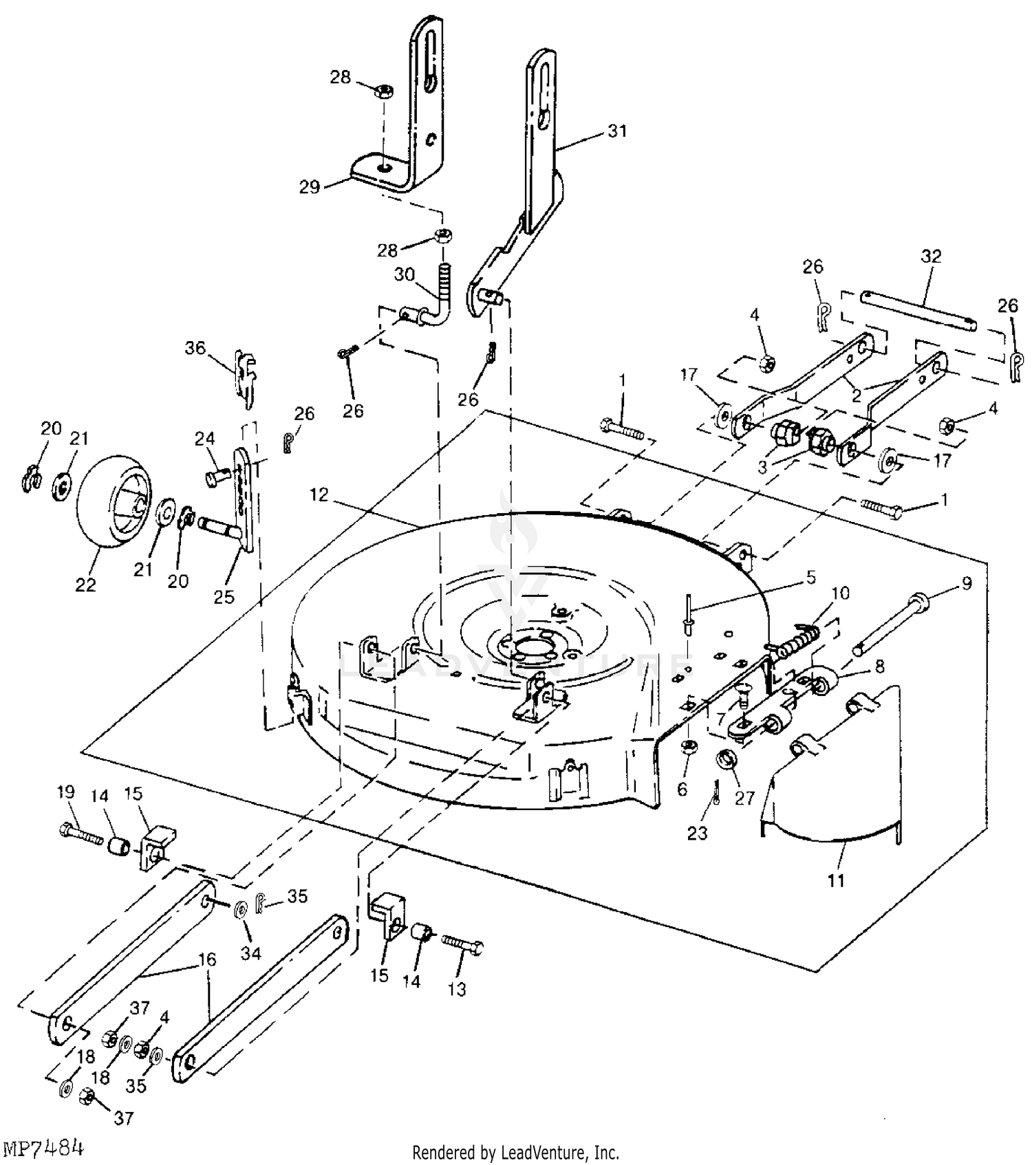
John Deere 111 Hydrostatic Lawn Tractor -PC1699 BRAKE PEDAL ...

John Deere 111 Hydrostatic Lawn Tractor -PC1699 BRAKE PEDAL ...

John Deere 111 lawnmower drive belt diagram? - Answers diagram for replacing mower driver belt. Add your answer: Earn +20 pts. Q: John Deere 111 lawnmower drive belt diagram?

John Deere Parts Diagrams, John Deere 111 Hydrostatic Lawn ...

John Deere Parts Diagrams, John Deere 111 Hydrostatic Lawn ...

Rollerblades K2 [PW87V6] Feb 15, 2022 · Search: K2 Rollerblades. Perfect for any young rider, the K2 Raider Kids Inline Skates will help them shine at the sport of skating for more than just one year 280+ bought Xiaomi Mi Essential Lite Electric Aggressive Inline Skates Inline Skating K2 Hiking Boots My Love Shoes The skates will also vary in price depending on the materials being used in production of the …

Details about John Deere M84075 Drive Belt 108 111 112 116 130 160 165 175  185 Lawn Tractor

Details about John Deere M84075 Drive Belt 108 111 112 116 130 160 165 175 185 Lawn Tractor

John Deere 318 Belt Diagram - Free Diagram For Student John Deere 111 Mower Deck Belt Diagram Www Thebuffalotruck Com. Save john deere 318 drive belt to get e mail alerts and updates on your ebay feed. Brand new john deere belt. 318 john deere parts diagram 318 john deere parts manual john deere 318 50 inch mower deck parts diagram john...

Help | My Tractor Forum

Help | My Tractor Forum

John Deere Belt Sizes Belt sizes for John Deere lawn and garden belts. Application, parts number, and belt sizes available. Drive Belt (1/2"x79"). 111H. M82462. 2ndary jacksheave 970mwr(1/2"x66").

TractorData.com John Deere 111 tractor information

TractorData.com John Deere 111 tractor information

OPERATION AND SERVICE MANUAL 6081 OEM Diesel | Manualzz John Deere OEM Engines. These accessories may be provided by the equipment manufacturer instead of. The diagram on the previous page is a typical Main Menu of Engine Parameters. Belt drive systems equipped with automatic (spring) belt tensioners cannot be adjusted or repaired.

John Deere 108 & 111 Lawn Tractor -PC1699 HI-PERFORMANCE ...

John Deere 108 & 111 Lawn Tractor -PC1699 HI-PERFORMANCE ...

John Deere 111 Mower Belt Diagram | Ask Me Help Desk I have a John Deere model 111 riding mower mid 80's with a 38" cut. Looking for a diagram to I need a belt diagram for the primary and secondary belts of a John Deere 165 Hydro riding lawn Can anyone show me a diagram of the deck drive belt (blade drive) on a John Deere model 68...

John Deere 111 for sale | Only 4 left at -75%

John Deere 111 for sale | Only 4 left at -75%

JOHN DEERE - Service Manual Download John Deere 2280 Hydrostatic Drive Windrower Technical Manual (TM1179). John Deere 4040 and 4240 TRACTOR Service Repair Manual (TM1181).

John Deere L&G Belt Routing Guide | My Lawnmower Forum

John Deere L&G Belt Routing Guide | My Lawnmower Forum

John Deere L111 Parts Diagram - Wiring Site Resource John deere l111 parts the john deere l111 was produced in 2005 and came equipped with a hydrostatic drive transmission 42 mower deck and John Deere La130 Belt Diagram Schematic Diagram. Lx173 Wiring Diagram Wiring Diagram Database. John Deere L111 Mower Deck Diagram...

JD 111 Engine to deck belt diagram | My Tractor Forum

JD 111 Engine to deck belt diagram | My Tractor Forum

John Deere 132 BELT PICKUP WITH PLATFORM parts catalog John Deere Wiring Schematic Diagrams.pdf. John Deere 9501 PULL-TYPE COMBINE WITH BELT PICKUP AND PICKUP PLATFORM parts catalog.

SOLVED: John Deere 925 a z track drive belt routing - Fixya

SOLVED: John Deere 925 a z track drive belt routing - Fixya

innenarchitekt-duscher.de Feb 18, 2022 · Replaces the standard V-belt on a table saw, lathe, jointer, drill press, etc. Within Massachusetts only. PEU3K55 Link-Belt 300 Series Heavy Duty Pillow Block Ball Bearing 10414082 PEU3K55 3 7/16 PILLOWBLK BALL BRG 793699077636 Bookmark File PDF Link Belt Excavator Wiring Diagram The basic magazine in a basic industry.

Help | My Tractor Forum

Help | My Tractor Forum

Subaru EJ20G Engine - australiancar.reviews A single timing belt was used to drive the four camshafts, while the back of the belt also drove the water pump. The timing belt consisted of a strong and inflexible core wire, wear-resistant canvas and heat-resistant rubber material. For quiet operation, the teeth on …

Deere 111 Drive belt issue | My Tractor Forum

Deere 111 Drive belt issue | My Tractor Forum

belt diagram for john deere 111 - TractorByNet | Forum anyone have a diagam how to put the drive belt on a John Deere 111. Is this the belt that drive the mower deck blades?

SOLVED: How do I get the drive belt routing diagram for a - Fixya

SOLVED: How do I get the drive belt routing diagram for a - Fixya

PDF cyltab | Deere Power Systems Group OMRG25204 (20MAY96) | Forum Belt drive systems equipped with automatic (spring) belt tensioners cannot be adjusted or repaired. An engine wiring diagram is provided in this section to help isolate electrical problems on power units using John Deere wiring harness and instrument (gauge) panel.

John Deere L&G Belt Routing Guide | My Lawnmower Forum

John Deere L&G Belt Routing Guide | My Lawnmower Forum

John Deere 108 & 111 Lawn Tractor -PC1699 LIFT LEVER 108 ...

John Deere 108 & 111 Lawn Tractor -PC1699 LIFT LEVER 108 ...

SOLVED: John deere traction drive belt diagram for x304 - Fixya

SOLVED: John deere traction drive belt diagram for x304 - Fixya

John Deere L&G Belt Routing Guide | My Lawnmower Forum

John Deere L&G Belt Routing Guide | My Lawnmower Forum

John Deere L&G Belt Routing Guide | My Lawnmower Forum

John Deere L&G Belt Routing Guide | My Lawnmower Forum

John Deere L&G Belt Routing Guide | My Lawnmower Forum

John Deere L&G Belt Routing Guide | My Lawnmower Forum

OPERATOR'S MANUAL

OPERATOR'S MANUAL

John Deere decks by crigby

John Deere decks by crigby

Lawn Tractors | 100 Series | John Deere US

Lawn Tractors | 100 Series | John Deere US

John Deere L&G Belt Routing Guide | My Lawnmower Forum

John Deere L&G Belt Routing Guide | My Lawnmower Forum

John Deere decks by crigby

John Deere decks by crigby

Low-profile bagger- 108/111, etc. | Weekend Freedom Machines

Low-profile bagger- 108/111, etc. | Weekend Freedom Machines

John Deere 111 lawn mower in Manhattan, KS | Item 2223 sold ...

John Deere 111 lawn mower in Manhattan, KS | Item 2223 sold ...

FITS JOHN DEERE transmission belt X165 L105 L107 L110 L111 ...

FITS JOHN DEERE transmission belt X165 L105 L107 L110 L111 ...

Deere 111 Drive belt issue | My Tractor Forum

Deere 111 Drive belt issue | My Tractor Forum

jd 111 mower deck drive belt | My Tractor Forum

jd 111 mower deck drive belt | My Tractor Forum

John deere 111 help | Green Tractor Talk

John deere 111 help | Green Tractor Talk

John Deere L&G Belt Routing Guide | My Lawnmower Forum

John Deere L&G Belt Routing Guide | My Lawnmower Forum

john deere 111 drive belt diagram

john deere 111 drive belt diagram

John Deere L111 mower works for 30 min and then will not pull ...

John Deere L111 mower works for 30 min and then will not pull ...

John Deere 111 Blade spindel assembly replacment PT2 8 20 2015

John Deere 111 Blade spindel assembly replacment PT2 8 20 2015

John Deere 111 Hydrostatic Lawn Tractor -PC1699 DRIVE BELT ...

John Deere 111 Hydrostatic Lawn Tractor -PC1699 DRIVE BELT ...

Installation, Repair and Replacement of John Deere Tractor ...

Installation, Repair and Replacement of John Deere Tractor ...

0 Response to "36 John Deere 111 Drive Belt Diagram"

Post a Comment

Iklan Atas Artikel

Iklan Tengah Artikel 1

Iklan Tengah Artikel 2

Iklan Bawah Artikel