Iklan 300x250

37 john deere gx75 belt routing diagram

I am looking for a motion drive diagram for a John Deere Sabre. May 5, john deere gx75 belt replacement rx75 parts manual price wiring diagram free diagrams,john deere gx75 parts belt routing diagram manual. This link will send you to the illustrated parts list on the john deere site. It shows the belt routing in the part diagram.

John Deere GX75 Riding Lawn Mower Replacement Belt Original Equipment Manufacturer John Deere OEM Part Number B1JD159 Machine Riding Lawn Mower Model GX75 Belt Type 4LK/AK Aramid VBG Replacement Id APPL678101 Technical Specifications: (Inches) (mm) Outside Circumference 63.00 1600.20 Top Width 0.50 12.70 Belt Depth 0.3125 7.9375 Bands Single Belt

Due to the employee strike at John Deere, we are not receiving estimated in stock dates for all parts and equipment. John Deere PARTS LOOKUP GX75-RIDING-MOWER-9-H-P-ELECTRIC-START--PC2314-M0GX75X010001-025000-1991-GX75-RIDING-MOWER-9-H-P-ELECTRIC-START--PC2314-M0GX75X025001-045000-1992-GX75-RIDING-MOWER-9-H-P-ELECTRIC-START--PC2314 ...

John deere gx75 belt routing diagram

John deere gx75 belt routing diagram

Due to the employee strike at John Deere, we are not receiving estimated in stock dates for all parts and equipment. John Deere PARTS LOOKUP. GX70-GX75-AND-GX95-RIDING-MOWERS Parts Diagram. GX70 RIDING MOWER (9 H.P MANUAL START) -PC2314 M0GX70X010001-025000 "1991" GX70 RIDING MOWER (9 H.P MANUAL START) -PC2314 M0GX70X025001-027000 "1992" GX70 ...

How to Change the Mower Belt on 54 Inch John Deere Riding Mower. Mowers become bound and the blades stop spinning for a number of reasons. Two main causes ar...

How to put a drive belt on a deere gx 75 riding lawn mover, will need a diagram - Answered by a verified Technician We use cookies to give you the best possible experience on our website. By continuing to use this site you consent to the use of cookies on your device as described in our cookie policy unless you have disabled them.

John deere gx75 belt routing diagram.

John Deere AG, Lawn & Garden and CWP Equipment Parts Search. John Deere parts lookup tool and diagram is an incredible online source. It is a complete catalog that shows you detailed parts diagrams of every part of your machine. This online parts catalog is robust and easy to use. Searching for your John Deere parts online has never been easier.

Page 2 john deere model rx75 rear engine rider parts. Rx75 sx75 flywheel and screen. Rx75 rx95 main wiring harness and ignition switch. John deere rx75 parts diagram shall review about john deere rx75 parts diagram. John deere lawn and garden tractor parts. More information find this pin and more on john deere rx75 by wendy miller french.

John Deere GX75 (Belt, Deck Drive 30") Riding Lawn Mower Replacement Belt Original Equipment Manufacturer John Deere OEM Part Number A63K Machine Riding Lawn Mower Model GX75 (Belt, Deck Drive 30") Belt Type 4LK/AK Kevlar VBG Replacement Id APPL678356 Technical Specifications: (Inches) (mm) Outside Circumference 65.00 1651.00 Top Width 0.50

John Deere SX75 Riding Mower Kevlar Blue V- Belt (5/8" X 43" ) ( Belt, Primary Traction) The inside of belt will go on back side of each of th 2 blade pulleys. On the discharge side it will come around to the back side of smaller pulley. Nov 30, · john deere rx75 belt routing diagram - John Deere Gx75 Rx75 Srx75 Sx75 9hp question.

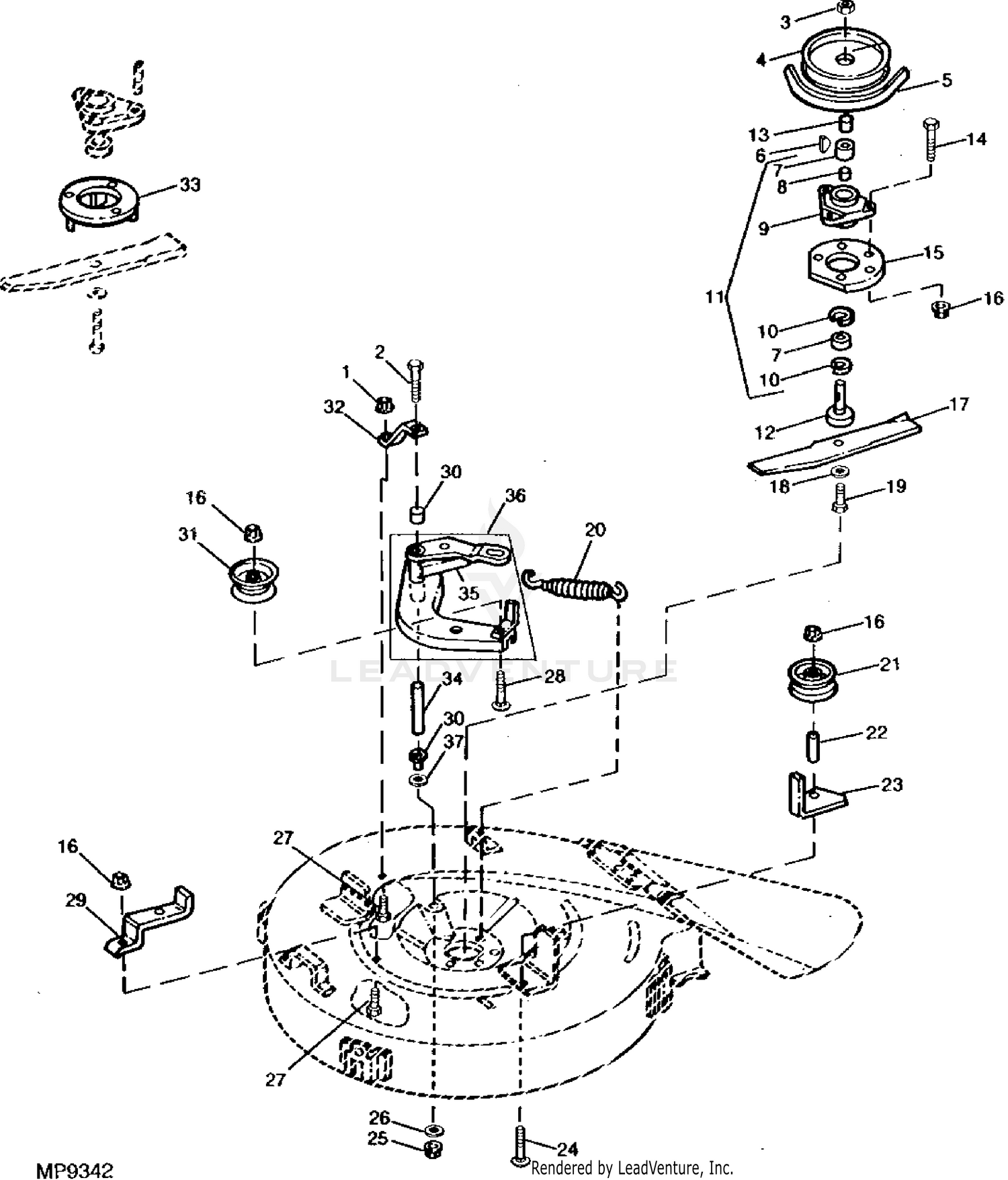
John Deere Gx75 Belt Routing Diagram. Remove nut (F) and belt guide (G). M Picture Note: SX85 shown. 5. Remove drive belt (H) from engine sheave. 6. Lower mower deck to 25 mm (1 in). May 26, how to put a drive belt on a john deere gx 75 riding lawn mover,. I am looking for a motion drive diagram for a John Deere Sabre.

John Deere GX75 Parts. The GX75 Rear Engine Riding Lawn Mower was produced from 1991-1996. Standard features included a 9 HP Kawasaki Engine, 5 speed gear transmission, Independent mid PTO, and a 30" mid mount mower deck. Regular Maintenance should be performed on the GX75 every 50 hours and should include Spark Plug, Air Filter, Oil Filter ...

Belt sizes for John Deere lawn and garden belts. Application, parts number, and belt sizes available.

May 19, 2013 · Joined May 19, 2013. ·. 4 Posts. Discussion Starter · #1 · May 19, 2013. Only show this user. Hello to all. New member here. I have a GX75 rear engine mower that I need a belt diagram for. I would also like to know where the belt guides are supposed to be located.

Apr 06, 2019 · It shows the belt routing in the part diagram. Hope this solves your. Find parts for your john deere mower drive belt,sheaves,spindle & blades John Deere GX75 Parts. The GX75 Rear Engine Riding Lawn Mower was produced from Standard features included a 9 HP Kawasaki Engine, 5 speed gear transmission, Independent mid PTO, and a 30" mid mount mower deck.

https://therepairmanual.com/shop/john-deere/john-deere-gx70-gx75-gx85-sx85-gx95-srx75-srx95-mowers-technical-manual/

John Deere Worldwide Commercial and Consumer Equipment Division GX70, GX75, GX85, SX85 GX95, SRX75 and SRX95 Riding Mowers TM1491 (JULY99) Replaces TM1491 (01JAN97) INTRODUCTION 7/12/99 1 - 1 This technical manual is written for an experienced technician and contains sections that are specifically for

Share this. Find parts for your john deere rx75 & rx95 main wiring harness and ignition switch: electrical with our free parts lookup tool! Search easy-to-use diagrams and. jd wiring diagram diagrams schematics and john deere pdf, john deere wiring diagram pdf voltage regulator diagrams hp at, john deere Apr 10, · well i got the key switch.

Service Mower

Service mower

John Deere RX75 Parts. The RX75 Rear Engine Riding Lawn Mower was produced from 1987-1990. Standard features included a 9 HP Kawasaki Engine, 7 speed variable transmission, Independent mid PTO, and a 30" mid mount mower deck. Regular Maintenance should be performed on the RX75 every 50 hours and should include Spark Plug, Air Filter, Oil Filter ...

SOLVED: Need diagram for john deere d140 mower deck belt - Fixya

Solved: need diagram for john deere d140 mower deck belt - fixya

GX70, GX75, GX85, SX85 GX95, SRX75 and SRX95 Riding Mowers. TECHNICAL MANUAL. John Deere Worldwide Commercial and Consumer Equipment Division TM1491 (JULY99) Replaces TM1491 (01JAN97) Litho in U.S.A

Pin on digram

Pin on digram

CarlMa Lawn Mower Deck Blade Drive Belt Fits John Deere M112006 GX70 GX75 GX95 GX85 RX63 RX73 RX75 RX95 SX75 SX95 SRX75 SRX95 and Sabre mowers (1/2" x62 1/2") John Deere Original Equipment V-Belt #M94020. D&D PowerDrive M112006 MTD Or Cub Cadet Kevlar Replacement Belt, 4LK, 1 -Band, 63" Length, Rubber.

Belt diagram for johndeere xr75 riding mower - Fixya

Belt diagram for johndeere xr75 riding mower - fixya

All Topics Topic Home & Garden Tools & Power Equipment » Belt diagram for GX75 riding mower. honeybunny46P Posts: 1, Reputation: 1. New Member. Apr 15, 2009, 06:00 PM. Belt diagram for GX75 riding mower. I am looking for the belt diagram for a John Deere GX75 riding mower. It has rear motor. Please help if you can.

RX75 drive belt replacement needed | Weekend Freedom Machines

Rx75 drive belt replacement needed | weekend freedom machines

The inside of belt will go on back side of each of th 2 blade pulleys. On the discharge side it will come around to the back side of smaller pulley. Nov 30, · john deere rx75 belt routing diagram - John Deere Gx75 Rx75 Srx75 Sx75 9hp question. Search Fixya. Browse Categories Answer Questions John deere rx75 belt routing diagram - John Deere ...

GX75 need repair advice please | My Tractor Forum

Gx75 need repair advice please | my tractor forum

Jun 15, 2012 · Fig. Belt routing diagram-3.0L engines Fig. Belt routing diagram-4.0L engines Although belt routing diagrams have been included in this section, the first places you should check for proper belt routing are the labels in your engine compartment. These should include a belt routing diagram which may reflect changes made during a production run.

SOLVED: Diagram for John Deere 105 belt - Fixya

Solved: diagram for john deere 105 belt - fixya

The John Deere LA130 is a model of riding lawnmower produced by the John Deere Company. The mower uses a 48 inch mower belt. Replacement mower belts are available online and at specific retailers.

GX75 need repair advice please | My Tractor Forum

Gx75 need repair advice please | my tractor forum

Images for 318 john deere parts diagram hi dear visitor. The onan engine on the 318 is a horizontal shaft engine so the pto clutch is at the front of the tractor right behind the front grille. The deck belt my jd dealer gave me was m41668 and the belt for the mule drive pulley is m82718.

SOLVED: Install deck belt on a GX75 John Deere tractor - Fixya

Solved: install deck belt on a gx75 john deere tractor - fixya

John Deere GX70, GX75, GX85, SX85, GX95, SRX75, SRX95 Riding Mowers Technical Manual (TM1491) John Deere LX172, LX173, LX176, LX178, LX186, LX188 Lawn Tractors Technical Manual (TM1492) John Deere F710, F725 Front Mowers Technical Manual (TM1493) John Deere 21C, 21S, 25S, 30S, 38B Line Trimmers and Brush Cutters Technical Manual (TM1494)

Belt Routing Charts for Lawn Mower Decks Canada

Belt routing charts for lawn mower decks canada

You should have them on the front and rear of each pulley/ allow about 1/4 ich from the pulley. This is should help you out. I need a belt pattern diagram for the rx75 john deere. 30 inch deck. Go to deereparts.com, Look in the parts catalog for an rx75. You can view the deere parts diagrams there.

Service Mower

Service mower

Online Library John Deere Gx75 Manuals extensive lecture notes, are available. John Deere Gx75 Manuals John Deere GX75 Lawn and Garden Tractor Service Manual John Deere GX75 Lawn and Garden Tractor Technical Manual TM1491 457 Pages in .pdf format 24.8 MB in .zip format for super fast downloads! This factory John Deere Page 4/28

Replace Deck & Drive Belts John Deere RX75 Riding Mower - YouTube

Replace deck & drive belts john deere rx75 riding mower - youtube

Service Schedule Parts for a John Deere GX85 Riding Mower & Parts List. While your John Deere machine is certainly built with quality parts, they have a limited life. Good news is you can easily service your machine yourself using a John Deere maintenance kit or service kits or by getting the specific John Deere part needed to keep your John Deere mower or tractor running for a long time.

How to change the Drive Belt on a John Deere GX75

How to change the drive belt on a john deere gx75

SOLVED: Diagram of drive run for a model 260 John Deere - Fixya

Solved: diagram of drive run for a model 260 john deere - fixya

Deere GX75 Manuals + Belt Routing | Garden Tractor Forums

Deere gx75 manuals + belt routing | garden tractor forums

Genuine John Deere GX85 Mower Deck Belt M91470 | eBay

Genuine john deere gx85 mower deck belt m91470 | ebay

John Deere Repair Questions & Solutions, Tips & Guides Page 4 - Fixya

John deere repair questions & solutions, tips & guides page 4 - fixya

SOLVED: I am needing a diagram to replace the mower deck - Fixya

Solved: i am needing a diagram to replace the mower deck - fixya

SOLVED: I need a Deck belt diagram for my John Deere RX75 - Fixya

Solved: i need a deck belt diagram for my john deere rx75 - fixya

John Deere GX75 RIDING MOWER (9 H.P. ELECTRIC START) -PC2314 ...

John deere gx75 riding mower (9 h.p. electric start) -pc2314 ...

Need diagram for belt routing john deere 180 lawn tractor - Fixya

Need diagram for belt routing john deere 180 lawn tractor - fixya

SOLVED: How to see diagram for John Deere LT155 Trasimion - Fixya

Solved: how to see diagram for john deere lt155 trasimion - fixya

Mower Deck Drive Belt For GX, RX, SRX And SX Series Riding Lawn Mowers

Mower deck drive belt for gx, rx, srx and sx series riding lawn mowers

Service Mower

Service mower

Service Mower

Service mower

John Deere RX75

John deere rx75

Service Mower

Service mower

SOLVED: I need a john diagram for deere 116 hydo belt - Fixya

Solved: i need a john diagram for deere 116 hydo belt - fixya

GX75 need repair advice please | My Tractor Forum

Gx75 need repair advice please | my tractor forum

belt diagram for john deere l110,Free delivery,www.workscom.com.br

Belt diagram for john deere l110,free delivery,www.workscom.com.br

How to Install and Level John Deere GX75 mower deck - YouTube

How to install and level john deere gx75 mower deck - youtube

Gx 75 | Green Tractor Talk

Gx 75 | green tractor talk

SOLVED: Need belt diagram on mower deck and the double - Fixya

Solved: need belt diagram on mower deck and the double - fixya

Pin on John Deere RX75

Pin on john deere rx75

SOLVED: 1974 john deere 47 inch deck belt route for 112 - Fixya

Solved: 1974 john deere 47 inch deck belt route for 112 - fixya

SOLVED: John Deere 925 a z track drive belt routing - Fixya

Solved: john deere 925 a z track drive belt routing - fixya

0 Response to "37 john deere gx75 belt routing diagram"

Post a Comment

Iklan Atas Artikel

Iklan Tengah Artikel 1

Iklan Tengah Artikel 2

Iklan Bawah Artikel