Iklan 300x250

37 john deere 54c mower deck parts diagram

John deere 60 inch mower deck manual 60 Inch Mower Deck John Deere eBay John Deere 54c Mower Deck Belt Diagram 15 John Deere 455 54 Mower Deck Manual. John deere 455 mower deck. John Deere 60-inch High-Capacity Mower Deck … Line the mower lift brackets with the draft arms and insert the J-pins. Push front lift rod assembly into brackets on the front of the mower, lift up and insert lift rod assembly into front of the mower frame. Attach the belt to the engine drive sheave. Push drive belt tension rod back into place. Raise the mower deck.

You can also find other images like john deere 38 mower deck parts breakdown,john deere 54c mower deck parts diagram,john deere 48 deck parts diagram,john deere 62c mower deck parts diagram,john deere 100 riding mower,john deere lx277 parts list,scag mower parts diagram,tractor mower deck diagram,john deere lawn parts online,john deere 48 inch.

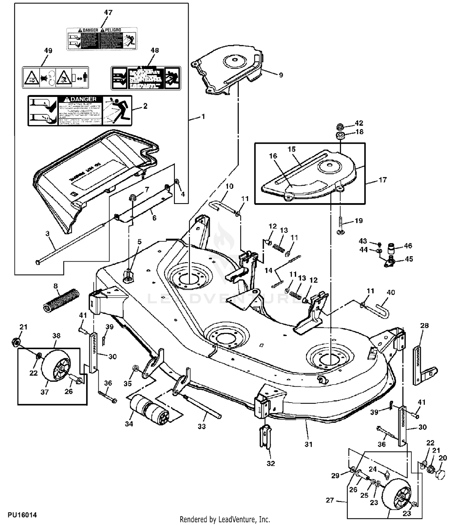
John deere 54c mower deck parts diagram

John deere 54c mower deck parts diagram

John Deere 54" LA175-D170 Deck Parts Diagram Join the MuttonPower.com Mailing List for Special Savings! Get Latest Offers and Updates From Mutton Power Equipment. Hello CSC! I bought a trac vac boot for a John Deere Z915E zeroturn mower with 54″ deck back in 2019 and instead of keeping it simple I thought the plastic discharge chute had to come off to mount the boot but I eventually figured it out after viewing parts JD parts diagrams of how their boot connects. It came equipped with a hydrostatic drive transmission 54 mower deck and 20hp kawasaki engine. A complete listing of all john deere lawn tractor parts is available using illustrated diagrams. This quick parts reference guide will provide you with the most common john deere gt245 lawn tractor parts 54c mower deck. While your john deere machine ...

John deere 54c mower deck parts diagram. The only deck size that was manufactured for the John Deere 100 lawn tractor was a 42 ″ mower deck.This quick parts reference guide will provide you with the most common needed parts for your John Deere 100 lawn tractor. This includes tune up parts, blades, belts and filters for your John Deere 100 Lawn Tractor with 42 ″ Mower Deck.All Mower Spares stocks an extensive range of Briggs ... 1 The John Deere Easy Change™ 30-Second Oil Change System is available on E120, E130, E150, E160, E170 and E180 Lawn Tractors today. 2 Compared to similar V-Twin engine models that do not have the John Deere Easy Change™ 30-Second Oil Change System. That includes equivalent Deere 2017 models and 2018 models without the System. Original Resolution: 271x300; Wiring Diagram 54c Mower Deck Parts Diagram And Manual Parts Diagram Mlpj Moralwellness Com At john deere, you get the value of choice for your replacement and maintenance parts for all makes and ages of machines — at any budget.. 600x600 - John deere model 48c mower deck 48 inch deck parts fits john deere tractor parts for mower deck cub cadet diagram sears 48 ... X300 48 in. X (Rotatable Wheels) Mower Deck.10 Mar 2021 · Uploaded by John Deere John Deere X300 Parts. The John Deere X300 was manufactured from 2006 to 2015 with a cosmetic update in 2013. The John Deere X300 riding tractor came equipped with either a 38", 42" or 48" mower deck.

The total weight is approximately 616 lbs., with a 48-inch mower. The dimensions of the X500 are a bit larger, 45 in. x 75 in., and a wheelbase of 51.2 in. This model weighs about 760 lbs. with a 48-inch mower. The heavier X500 models provide ample stability for mowing on hillsides, and when using attachments. John Deere OEM Mower Deck Mulching Insert M131163 $80.00: John Deere AM135287 Bagger Chute 42 IN Mower Decks X300 X304 Serial s belo $191.02: John Deere Mower Deck Spindle E100 Series 100 170 42 48 Deck $39.99 The model number on a John Deere riding lawn mower can be found in one of several places depending on your equipment model and year. John Deere 648M 48" Mower Deck Parts Diagram Join the MuttonPower.com Mailing List for Special Savings! Get Latest Offers and Updates From Mutton Power Equipment. West Location. 5612 Illinois Road, Fort Wayne, IN 46804 (MAP) Phone: 260-432-9438 Hours: M-F 8:30AM-5:30PM Sat 8:30AM-2:00PM (Subject to Change) ... John Deere 54C Mower Deck Parts Diagram Interior Designing Courses Near Me - Each of these online interior design courses has been created by a different user, so there is some overlap in the content.

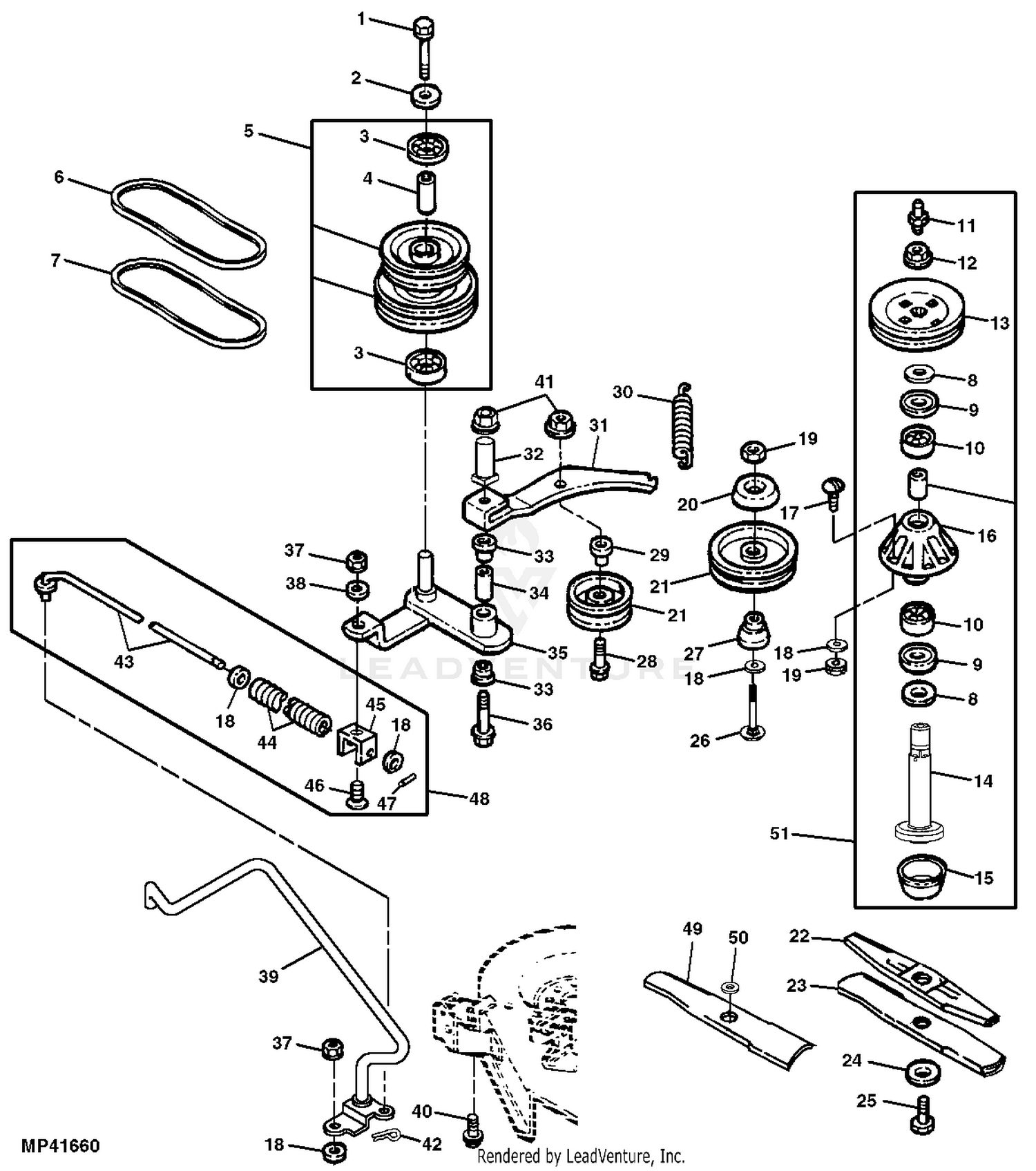
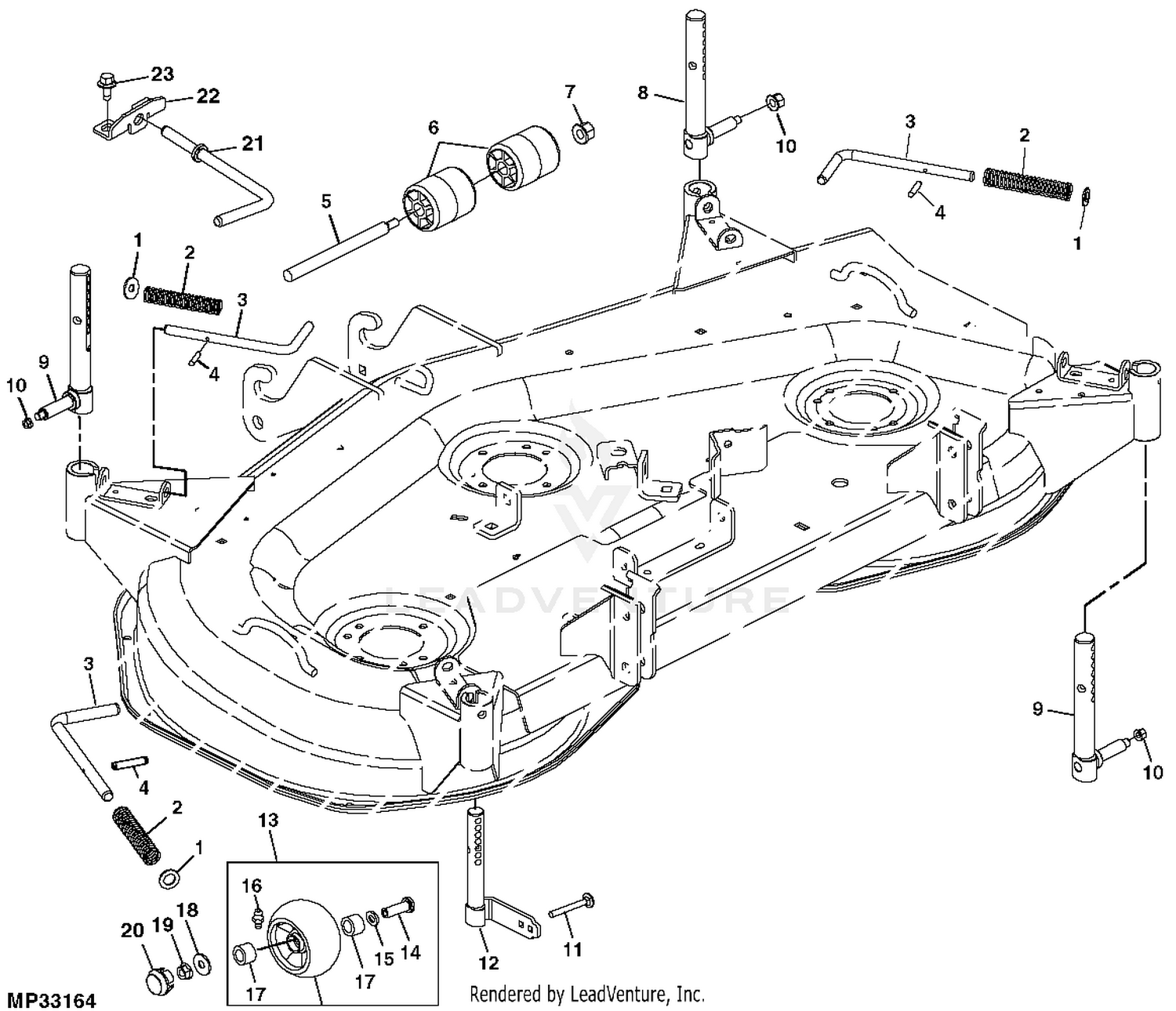
A finish Listing that All man Deere Lawn Tractor Parts Is accessible Using shown Diagrams. This quick parts reference overview will administer you with the most common John Deere L120 Lawn Tractor components 48 Mower Deck. These man Deere Lawn Tractor Parts may include: tune Up Kit, Spark Plug, Mower Blades, Traction journey Belt, transmission ... john deere machinery list: john deere parts catalog. 38 - attachment, mower decks and power flow blower assembly (lx and gt series lawn tractors) mower deck, chute and gage wheels » v-belt m154960 gx255 - attachment, mower decks, front blade, power flow blower assembly (gx255) mower deck, chute and gage wheels » v-belt m154960 Here at Eis Implement we carry the full lineup of John Deere Lawn Tractors, including the popular X300 and X500 Select Series models. Lowes Attachment for Pushmower or Tractor, Tractor Warranty Parts , 2 years. How To, Level a John Deere 48C and 54C Mower Deck. John Deere Parts Shortages & Order Delays. Updated November 11, 2021: John Deere, like many worldwide companies, is feeling the effects of the Covid-19 pandemic and some current labor issues. While John Deere Company itself is positioned for sustainability and longevity, they rely on hundreds of partners worldwide to manufacture their parts.

In this video i show how to route the deck belt on a 42" john deere 100 series 42" deck. this video applies to the l 100 and la 100 series and d 100 series 2.Tags: belt, deck, deere, inch, installation, john, la110, routing « genuine john deere mower primary deck drive belt m136298 ltr155 42 deck deck blade spindle belt kit set john deere la145 la165 d140 d150 d160 x140 x165 ». 1 The John ...

John Deere AM133924 Double Pulley - 48C & 54C Mower Decks - GT235 GX345 LX255 LX277 LX280. John Deere. $23.99. 24 Oct 2021. US: HD Switch. HD Switch (2 Pack) Double Stack Pulley Rebuild Kit Bearings Replaces John Deere AM133924 M136635 Models: GX255 GX325 GX335 GX345 GX355 48c GT225 GT235 GT235E GT245 LT170 LX255 LX266 LX277 LX280 LX289.

Lawn Mower Parts. Email to friends Share on Facebook ... John Deere X340 X360 X500 X520 X530 X534 X540 X320 Tractor 54" 54C Mowing Deck. $395.74. Free shipping Free shipping Free shipping. ... JOHN DEERE 54" CUTTING DECK REMOVED FROM A JOHN DEERE LAWN TRACTOR , VERY GOOD USED CONDITION, I DO NOT KNOW MUCH ABOUT IT, IT CAME IN ON A TRADE, THE ...

44" mid-mount mower deck: 48" mid-mount mower deck: 54" mid-mount mower deck: Snowblower: Blade: The GT245 was compatible with the M03264X 30-inch mechanical tiller. 42" Mower deck. ... John Deere 54C. 54 inches 137 cm. Total width: 67.7 inches 171 cm. 3-blade. right-discharge. Cut height: 1 to 4 inch 2 to 10 cm. 150 lbs 68 kg. 46" Blade. John ...

John Deere Z445 Transmission Problems. The transmission system of the cars helps in converting the electrical power generated by the engine to mechanical power for the movement of the wheels. However, as John Deere Z445 is a zero-turn mower, the transmission system works a little differently.

1 Posts. Discussion Starter · #1 · 1 mo ago. Only show this user. I bought a used 2019 1025R with a 54D mower deck, power flow blower and mcs 20 bagger. The Z shaped pin that holds the front of the blower was missing. I ordered part number M144504 and installed. It will work but belt rubs very bad on scalping wheel support.

John Deere LX255 Lawn Tractor Parts 44 Piranha Mower Deck, or search illustrated diagrams to determine the part you need. John Deere Lx255 Lawn Tractor has high quality Kohler CV15S-41571 gasoline 1-cylinder air-cooled 426 cc engine, which provide 15 horsepower (11.2 kW) at rated rpm 3600.

Huge in-stock inventory of OEM John Deere parts. John deere lx188 parts diagram. Buy genuine oem john deere parts for your john deere lx188 lawn tractor with 48 in mower deck pc2317 carburetor lx188. The john deere lx188 was produced from 1992 to 1998 with options of 38 44 or 48 mower decks. Search part numbers and diagram s to identify the ...

I have a 212 John Deere. I recently bought a mower deck for it and I'm having some issues. The serial number of the deck starts M00673X, can anyone tell me if this is the correct deck for my 212

John Deere's Edge™ Cutting System is tested and proven and features a smooth underside to prevent grass buildup and clumping. The deep-deck mower design lifts grass for a clean, even cut. The Edge™ Cutting System is available in 42-, 48-, 54- and 62-inch widths.

John Deere Model 54 Mower Deck - 54 -inch Deck Parts - Fits John Deere Models 425, 445 and 455 Series1993 MODEL (SN M0 54 HDA0... 37 a class diagram includes the class ____, which represent the program logic.

It came equipped with a hydrostatic drive transmission 54 mower deck and 20hp kawasaki engine. A complete listing of all john deere lawn tractor parts is available using illustrated diagrams. This quick parts reference guide will provide you with the most common john deere gt245 lawn tractor parts 54c mower deck. While your john deere machine ...

Hello CSC! I bought a trac vac boot for a John Deere Z915E zeroturn mower with 54″ deck back in 2019 and instead of keeping it simple I thought the plastic discharge chute had to come off to mount the boot but I eventually figured it out after viewing parts JD parts diagrams of how their boot connects.

John Deere 54" LA175-D170 Deck Parts Diagram Join the MuttonPower.com Mailing List for Special Savings! Get Latest Offers and Updates From Mutton Power Equipment.

0 Response to "37 john deere 54c mower deck parts diagram"

Post a Comment

Iklan Atas Artikel

Iklan Tengah Artikel 1

Iklan Tengah Artikel 2

Iklan Bawah Artikel