Iklan 300x250

39 john deere 757 belt diagram

John Deere Z-Trak 737 and 757 Mower Service Manual. John Deere Mini Frame Z-Trak 737 and 757 Mower Technical Manual TM2199. 330 Pages in .pdf format. 42 MB in .zip format for super fast downloads! This John Deere Z-Trak manual covers the models from 2004 and later. Serial numbers 050000 and up. These newer models have one hydraulic pump and a fan. Service Schedule Parts for a John Deere 757 Mid-Frame Z-TRAKS. While your John Deere machine is certainly built with quality parts, they have a limited life. Good news is you can easily service your machine yourself using a John Deere maintenance kit or service kits or by getting the specific John Deere part needed to keep your John Deere mower or tractor running for a long time.

Changing the deck belt on my John Deere 757 Ztrak zero turn mower. EnjoyThings that might help with a project like this:Deck Belt: https://amzn.to/3h5W91lC...

John deere 757 belt diagram

John deere 757 belt diagram

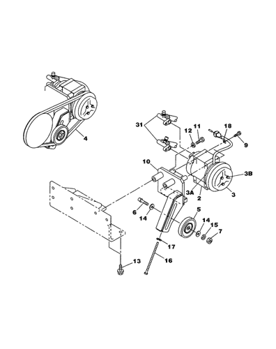
Diagram group 757 Mid-Mount ZTrak (Worldwide Edition) John Deere : 20 ENGINE CCE. 30 FUEL AND AIR CCE. 40 ELECTRICAL CCE. 50 POWER TRAIN CCE. 60 STEERING, BRAKES AND CONTROL LINKAGES CCE. 70 HYDRAULICS CCE. 80 WHEELS, NON-POWERED AXLES, SHEET METAL AND OPERATORS STATION CCE. 90 ACCESSORIES CCE. John Deere PARTS LOOKUP. 757Mid-mount-ZTrak-TM- Parts Diagram. 757 ZTrak AC Gas Engine W/54 Inch Mower Deck -PC10357 2002 Model TC0757A010001-020000 757 ZTrak AC Gas Engine W/54 Inch Mower Deck -PC10357 2003 Model TC0757A020001-030000 757 ZTrak AC Gas Engine W/54 Inch Mower Deck -PC10357 2004 Model TC0757A030001-0400; John Deere 737 757 54 60 Mulch On Demand Deck Parts Diagram . John Deere AG Lawn Garden and CWP Equipment Parts Search. John deere 60 mower deck parts diagram. Search part numbers and John Deere parts diagrams to identify exactly what you need to keep your equipment running smoothly. Search parts for your tractors lawn mowers ag equipment and more.

John deere 757 belt diagram. John Deere 60-inch Deck Roller Striping Kit - TCB10802. (0) $482.57. Usually available. Add to Cart. Quick View. Whether you've got a brand new John Deere engine, one that's been working for years, or a mixed fleet - John Deere is ready to keep you up and running. Our dealers keep maintenance and repair parts in stock to get you back moving quickly. Engine Information Search. Remanufactured Parts and John Deere AG, Lawn & Garden and CWP Equipment Parts Search. John Deere parts lookup tool and diagram is an incredible online source. It is a complete catalog that shows you detailed parts diagrams of every part of your machine. This online parts catalog is robust and easy to use. Searching for your John Deere parts online has never been easier. Mar 03, 2019 · John Deere 757 Belt Diagram. John Deere: , , and ZTrak. Replaces OEM Part Number (s): John Deere: TCU Belt Application: Pump/Drive. Belt Type: Multi ribbed. Mower Deck Parts Diagram for John Deere and 54" or 60" Mulch-on- Demand Lawn Mowers including mower blades, deck belts, pulleys, hardware. graphics of belt routing on commercial decks of ...

I need to get the belt diagram for a 1997 John Deere 48inch walk behind mower deck. The part number of the belt is M110798. ... Bachelor's Degree. 2,987 satisfied customers. I have a Deere 757 0' turn mower. something came loose under. I have a John Deere 757 0' turn mower. something came loose under the throttle lever and now I can't adjust ... Quick Reference Guides. As a John Deere owner, when it's time to maintain, service or repair your equipment we have easy-to-use information sheets that keep your John Deere equipment running well. Check out the specific info based on your equipment type & models or use Search by Model. 8TEN PTO Clutch Belt for John Deere 737 757 Ztrak Mowers Serial Numbers 030001 and Higher TCU16907. John Deere Original Equipment Belt #TCU13198. John Deere TCU16907 V-BELT. 8TEN Deck Belt for John Deere 60 inch Ztrak Z915B Z920M Z925M EFI Z930M Z930R Z960M TCU30356 TCU35604. Add to Cart Add to Cart Add to Cart John Deere 757 back belt fell off. PTO belt. John Deere blades stopped working.Here is the belt you need: https://amzn.to/2SmfBgCThanks for watching!

John Deere Model 757 Zero Turn Mower Parts - John Deere La145 Belt Routing Diagram. 6. GX .. BELT - TRACTION DRIVE. 7 LA with 48" Deck PRINT Valuable Parts Coupons for discounts at your John Deere Dealer. • ORDER. Make sure belt is routed through both belt guide loops (I). If the mower engagement rod is not adjusted properly, the mower belt may slip or drag on blade. Mower Deck Parts Diagram for John Deere 737 and 757 54" or 60" Mulch-on-Demand Lawn Mowers including mower blades, deck belts, pulleys, hardware, and more John Deere 757 (Deck 60") Riding Lawn Mower Replacement Belt Original Equipment Manufacturer John Deere OEM Part Number TCU13198 Machine Riding Lawn Mower Model 757 (Deck 60") Belt Type 5LK/BK Kevlar VBG Replacement Id APPL684681 Technical Specifications: (Inches) (mm) Outside Circumference 141.00 3581.40 Top Width 0.63 15.88 Belt Depth 0.375

John Deere Ztrak Belt Routing Guide My Tractor Forum

John Deere Ztrak Belt Routing Guide My Tractor Forum

John Deere Parts Diagrams, John Deere 757 Mid-mount ZTrakâ ¢. ACCESSORIES. ELECTRICAL. ENGINE MIA12135. FUEL AND AIR. HYDRAULICS. LABELS. Material Collection System With Metal Horizontal Blower (14 Bushel), TC7IMCS. Material Collection System With Metal Horizontal Blower (8 Bushel), TC7IMCS.

John Deere Parts Online Fast Australia Wide Delivery

John Deere Parts Online Fast Australia Wide Delivery

John Deere 737, 757 Mid-Frame Z-Trak Mower Technical Manual (TM2199) John Deere 1905 Large Area Reel Mower Technical Manual (TM2200) John Deere 447, 457, 467, 457s and 467s Silage Special, 547, 557, and 567 Round Balers (SN. from 300001) Repair Technical Manual (TM2203) John Deere JX75, JA62 Walk-Behind Rotary Mowers Technical Manual (TM2208)

John Deere 60 Inch Mower Deck Belt Diagram New Daily Offers Rudrakshalliancedevelopers Com

John Deere 60 Inch Mower Deck Belt Diagram New Daily Offers Rudrakshalliancedevelopers Com

John Deere Parts Lookup -John Deere-757 ZTrak AC Gas Engine W/54 Inch Mower Deck -PC10357 2002 Model TC0757A010001-020000 757 ZTrak AC Gas Engine W/54 Inch Mower Deck -PC10357 2003 Model TC0757A020001-030000 757 ZTrak AC Gas Engine W/54 Inch Mower Deck -PC10357 2004 Model TC0757A030001-0400

Weingartz Com

Weingartz Com

JOHN DEERE MID-MOUNT Z-TRAK 737 757 MOWER Service Repair Manual Excavator Service Repair Manual for Volvo, Doosan, Case, Komatsu, Kobelco, Hitachi, Hyundai, New holland, Terex, Bobcat, Caterpillar, Takeuchi, Kubota, Jcb,Complete Step-By-Step Instructions, Diagrams, Illustrations, Wiring Schematics, And Specifications To Completely Repair Your ...

Cx350 Case Crawler Excavator Europe 12 05 12 06 02 009 00 01 Air Conditioning Compressor Mounting Case Constructuion

Cx350 Case Crawler Excavator Europe 12 05 12 06 02 009 00 01 Air Conditioning Compressor Mounting Case Constructuion

John Deere 757 Riding Mower Stock# 8698 2007 John Deere 757 zero turn riding lawn mower with a 2 cylinder, 25 HP gas engine, 2 wheel drive, drive tire size 24x12.00-12, front tire size 13x5.00-6, and a hydrostatic transmission.

Greentractortalk Com

Greentractortalk Com

John Deere ZTrak Belt Routing Guide. Jump to Latest Follow Status Not open for further replies. ... 737, 757 Drive Belt (HydroGear Pump -30000) ... 1997 John Deere LT133 15hp engine swap, 15amp alternator swap, tach/hourmeter install, SST steering wheel, Carlisle All-Trail II 4-ply rear tires, Carlisle Turf Master 4-ply front tires ...

The Belt On My Deere Riding Mower Broke And I M Not Sure How It Goes Back On It Is A Deere 430 With A 60 Inch Deck That

The Belt On My Deere Riding Mower Broke And I M Not Sure How It Goes Back On It Is A Deere 430 With A 60 Inch Deck That

John Deere Z-Trak 757 Mower Service Manual. John Deere Mid Mount Z-Trak 757 Mower Technical Manual TM2003. 283 Pages in .pdf format. 36.2 MB in .zip format for super fast downloads! This factory John Deere Service Manual Download will give you complete step-by-step information on repair, servicing, and preventative maintenance for your John Deere.

John Deere Ztrak Belt Routing Guide My Lawnmower Forum

John Deere Ztrak Belt Routing Guide My Lawnmower Forum

757 ZTrak™ AC Gas Engine Mower Deck MP27919 A.1 757 ZTrak™ AC Gas Engine W/54 Inch Mower Deck 2002 Model (Serial No. TC0757A010001-020000) ... Reman components are manufactured to stringent John Deere standards and produced to original John Deere specifications that incorporates

New Pto Clutch Fits John Deere Ztrak 757 Mower 1 125 Crankshaft 521891 Tca12522

New Pto Clutch Fits John Deere Ztrak 757 Mower 1 125 Crankshaft 521891 Tca12522

Mower Deck Parts Diagram for John Deere 757 and 777 60" Mulch-on-Demand Lawn Mowers including mower blades, deck belts, pulleys, sheaves, hardware, and more

John Deere Commercial Decks By Crigby

John Deere Commercial Decks By Crigby

OEM Replacement Belt for John Deere 737, 757, 777 and 797 Ztrak TCU16026: OEM Replacement Belt for John Deere 110-216 M44121, M42250: OEM Replacement Belt for John Deere 652R 652B 652R EFI and 661R EFI QuikTrak Mowers with 52 in. and 61 in. Deck TCU34215: Price $ 14 89 $ 19 51 $ 23 66 $ 28 17. Ratings (0) (1) (0) (0)

John Deere Ztrak Belt Routing Guide My Lawnmower Forum

John Deere Ztrak Belt Routing Guide My Lawnmower Forum

Oct 23, 2018 · John Deere 757 Belt Diagram. John Deere Zero Turn Mower Parts including mower blades, deck belt, oil and air filter along with Parts Look-up Diagrams/Schematics. John Deere: , , and ZTrak.

2006 John Deere Ztrac 757 Riding Mower Clean Youtube

2006 John Deere Ztrac 757 Riding Mower Clean Youtube

John Deere 737 757 54 60 Mulch On Demand Deck Parts Diagram . John Deere AG Lawn Garden and CWP Equipment Parts Search. John deere 60 mower deck parts diagram. Search part numbers and John Deere parts diagrams to identify exactly what you need to keep your equipment running smoothly. Search parts for your tractors lawn mowers ag equipment and more.

Drive Belt Sizing Guidelines English As A Second Language At Rice University

Drive Belt Sizing Guidelines English As A Second Language At Rice University

John Deere PARTS LOOKUP. 757Mid-mount-ZTrak-TM- Parts Diagram. 757 ZTrak AC Gas Engine W/54 Inch Mower Deck -PC10357 2002 Model TC0757A010001-020000 757 ZTrak AC Gas Engine W/54 Inch Mower Deck -PC10357 2003 Model TC0757A020001-030000 757 ZTrak AC Gas Engine W/54 Inch Mower Deck -PC10357 2004 Model TC0757A030001-0400;

John Deere Commercial Decks By Crigby

John Deere Commercial Decks By Crigby

Diagram group 757 Mid-Mount ZTrak (Worldwide Edition) John Deere : 20 ENGINE CCE. 30 FUEL AND AIR CCE. 40 ELECTRICAL CCE. 50 POWER TRAIN CCE. 60 STEERING, BRAKES AND CONTROL LINKAGES CCE. 70 HYDRAULICS CCE. 80 WHEELS, NON-POWERED AXLES, SHEET METAL AND OPERATORS STATION CCE. 90 ACCESSORIES CCE.

John Deere Service Advisor 4 0 2011 Cce Commercial And Comsumer Equipment

John Deere Service Advisor 4 0 2011 Cce Commercial And Comsumer Equipment

H175587 New Shoe Fan Conveyor Auger Belt Fits John Deere 9560 9570 9650 Walmart Com

H175587 New Shoe Fan Conveyor Auger Belt Fits John Deere 9560 9570 9650 Walmart Com

John Deere Mid Mount Z Trak 757 Mower Service Repair Manual Tm2003

John Deere Mid Mount Z Trak 757 Mower Service Repair Manual Tm2003

Sieg C0 زر الطوارئ الجهد Wh24 2 Z4k7 صندوق الصمامات التبديل الجزئي تدوير رمح مؤشر أخضر أصفر Power Tool Accessories Zawem

Sieg C0 زر الطوارئ الجهد Wh24 2 Z4k7 صندوق الصمامات التبديل الجزئي تدوير رمح مؤشر أخضر أصفر Power Tool Accessories Zawem

John Deere Commercial Decks By Crigby

John Deere Commercial Decks By Crigby

Toothed Timing Cogged Cutter Deck Mower Belt Fits Snapper Elt2240rd Elt2440rd Elt1840rdfr Elt19540rd Part Number 1735832 410201760

Toothed Timing Cogged Cutter Deck Mower Belt Fits Snapper Elt2240rd Elt2440rd Elt1840rdfr Elt19540rd Part Number 1735832 410201760

54 Inch John Deere 54 Mower Deck Parts Diagram

54 Inch John Deere 54 Mower Deck Parts Diagram

Replacing John Deere Ztrack Z777 Pto Belt Youtube

Replacing John Deere Ztrack Z777 Pto Belt Youtube

John Deere Hydrostatic Transmission Fix

John Deere Hydrostatic Transmission Fix

Purchase John Deere Mower Deck Parts 60 Inch Up To 63 Off

Purchase John Deere Mower Deck Parts 60 Inch Up To 63 Off

Buy 8ten Deck Belt For John Deere 54 60 Inch Ztrak 737 757 Zero Turn Tcu13195 Online In Turkey B07rv5f2zc

Buy 8ten Deck Belt For John Deere 54 60 Inch Ztrak 737 757 Zero Turn Tcu13195 Online In Turkey B07rv5f2zc

John Deere 48 Inch Mower Deck Belt For Sale Picclick

John Deere 48 Inch Mower Deck Belt For Sale Picclick

John Deere Commercial Decks By Crigby

John Deere Commercial Decks By Crigby

John Deere 60 Inch Mower Deck Belt Diagram Wiring Site Resource

John Deere 60 Inch Mower Deck Belt Diagram Wiring Site Resource

John Deere Zero Turn Drive Belt Replacement Cheap Online

John Deere Zero Turn Drive Belt Replacement Cheap Online

John Deere Mid Mount Z Trak 757 Mower Service Repair Manual Tm2003

John Deere Mid Mount Z Trak 757 Mower Service Repair Manual Tm2003

Drive Belt For Powerflow Material Collection Systems Genuine Parts John Deere Products Johndeerestore

Drive Belt For Powerflow Material Collection Systems Genuine Parts John Deere Products Johndeerestore

Tcu21289 Extension Spring Fits John Deere Aftermarket Supply

Tcu21289 Extension Spring Fits John Deere Aftermarket Supply

Alliance Ytee5asp285cw01 Parts Reliable Parts

Alliance Ytee5asp285cw01 Parts Reliable Parts

Amazon Com 8ten Pto Clutch Belt For John Deere 737 757 Ztrak Mowers Serial Numbers 030001 And Higher Tcu16907 Patio Lawn Garden

Amazon Com 8ten Pto Clutch Belt For John Deere 737 757 Ztrak Mowers Serial Numbers 030001 And Higher Tcu16907 Patio Lawn Garden

John Deere Hydro Transmission Drive Belt L105 X110 X120 X125 X126 X140 X145 X166 19 49 Picclick Uk

John Deere Hydro Transmission Drive Belt L105 X110 X120 X125 X126 X140 X145 X166 19 49 Picclick Uk

John Deere Ztrak Belt Routing Guide My Tractor Forum

John Deere Ztrak Belt Routing Guide My Tractor Forum

John Deere 757 Ztrak Ac Gas Engine W 60 Inch Mower Deck Pc10357 2005 Model Tc0757b040001 050000 757 Ztrak Ac Gas Engine W 60 Inch Mower Deck Pc10357 2006 Model Tc0757b050001 060000 757 Ztrak Ac Gas

John Deere 757 Ztrak Ac Gas Engine W 60 Inch Mower Deck Pc10357 2005 Model Tc0757b040001 050000 757 Ztrak Ac Gas Engine W 60 Inch Mower Deck Pc10357 2006 Model Tc0757b050001 060000 757 Ztrak Ac Gas

Belts Emmetts Shop

Belts Emmetts Shop

757 Tractor Lawn And Garden Belt Idlers And Covers Epc John Deere Tcu21241 Cce Online Avs Parts

757 Tractor Lawn And Garden Belt Idlers And Covers Epc John Deere Tcu21241 Cce Online Avs Parts

0 Response to "39 john deere 757 belt diagram"

Post a Comment

Iklan Atas Artikel

Iklan Tengah Artikel 1

Iklan Tengah Artikel 2

Iklan Bawah Artikel