38 tecumseh throttle spring diagram
This is for the older Tecumseh with a Throttle cable. Visit my channel for more repair videos; http://www.youtube.com/user/donyboy73?feature=mhw5 This page is about Tecumseh engines model series TVS, TNT, TVXL, & TVM governor linkage connections. TVS Engines: Connect the "hooked" side of the long solid governor link to the top hole in the governor arm. Connect the "Z-bend" side to the correct hole in the throttle shaft. (Click here for picture). Now connect the spring of the ...
Tecumseh Governor Linkage Diagram - Kohler Ecv880 3012 Dixie Chopper 33 Hp Parts Diagrams. 8 11hp tecumseh carburetor linkage configuration in this video i show the proper carburetor and governor linkage configuration on the 8hp to 11hp tecumseh snowblower engine visit my channel. Ariens ST622 Carb 4 Cycle Tecumseh Centura 6hp Parts Diagrams.

Tecumseh throttle spring diagram
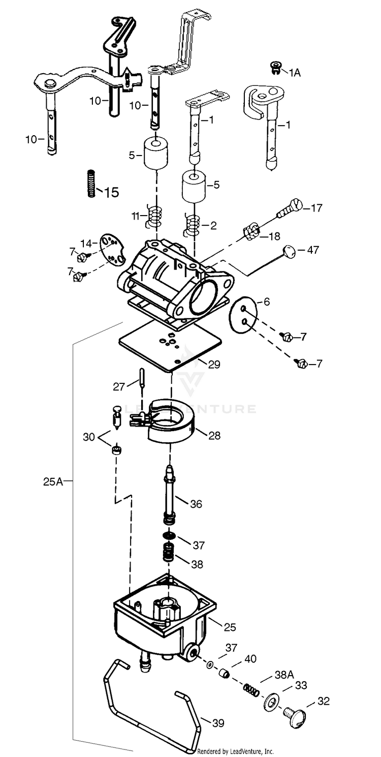
Carburetor diagram tecumseh. ... It proves the big help under ... DeOnna Padilla. recipes. Lawn Mower. Diy Repair. Throttle. Go Kart. Lawn Care. Auto Repair. Repair. Diy Small. Lawn. How do you install the governor spring on a Briggs 5hp Mod. How do you install the governor spring on a Briggs 5hp Mod. 135212 engine? No diagrams are shown in the ... Tecumseh 5hp Throttle Linkage Diagram. Written By Unknown Tuesday, November 24, 2015 Add Comment. Edit. I need a schematic on the throttle and governor linkage connections on a 5 hp tecumseh engine on a 5 hp 22 craftsman high wheel trimmer. I bought a craftsman snow blower 5hp 22 cut for real cheap it runs and it was in great condition. Engine Parts List #1 diagram and repair parts lookup for Tecumseh HM80-155066 - Tecumseh Engine. ... Cap, Lower valve spring. Part# 32581. OEM Warranty Repair Part for Tecumseh. Usually leaves our warehouse in 1 business day. ... Link, Governor lever-to-throttle.
Tecumseh throttle spring diagram. Oct 25, 2018 · The Tecumseh carburetor diagram provided by us is a detailed description of the Carefully position the coil spring on the screw first which is then followed by.Nov 12, · I need info or diagram showing linkage of carb and governor on a Scott's (Murray) mulcher mower (walk behind) Model x8a with a Tecumseh HP. Shop great deals on Tecumseh Governor Spring. Get outdoors for some landscaping or spruce up your garden! Shop a huge online selection at eBay.com. Fast & Free shipping on many items! Tecumseh OHH60-71131D Exploded View parts lookup by model. Complete exploded views of all the major manufacturers. It is EASY and FREE Carburetor diagram and repair parts lookup for Tecumseh TEC-640231 - Tecumseh Carburetor. ... Throttle Return Spring. ... Screw, Throttle Shutter & Dust Seal R etainer. Part# 640235. OEM Warranty Repair Part for Tecumseh. Usually leaves our warehouse in 1 business day.
http://goo.gl/OvKZwD click link to get your tecumseh parts. See how the springs and linkages go on your Craftsman Tecumseh lawnmower. Disclaimer: Doublewide6... Apr 11, 2018 · Tecumseh Throttle Spring Diagram. Common problems that affect the governor on a Tecumseh engine are that the engine runs Push the governor arm until the throttle is wide open. Check the linkage and spring of the governor to ensure that they operate freely and are not . results Governor Springs, Throttle Return Springs & Diaphragm Springs. sense to me but it's an advisory from Tecumseh I picked up on years ago. Once I started following their advise, the vast majority of un-explained flooding carbs (after being rebuilt) mysteriously ended. So although the reason isn't readily apparent, it does work." The float setting should be like this. The drill bit size is: 11/64. operation. Correct by cleaning the throttle re turn spring or realigning the throttle plate. 2-8-3 Install the throttle plate with the letter ing (if present) facing out when closed. Move the throttle shaft to the closed position, place the throttle plate on the shaft and secure with the retaining screws. The throttle should move free ly.
Free delivery on millions of items with Prime. Low prices across earth's biggest selection of books, music, DVDs, electronics, computers, software, apparel & accessories, shoes, jewelry, tools & hardware, housewares, furniture, sporting goods, beauty & personal care, groceries & just about anything else. In "Shop Swap" Taryl and do-it-yourself fix-it-guy Bob, swap shop lives for 2 weeks. They have to learn to adapt to each other's shops, or not. Be sure to st... Pawl Spring Pawl Pulley Rewind Spring Starter Rope (#4 Rope, 71" Long) Starter Handle 1 1 2 1 2 2 1 1 1 1 Applicable Replacement Parts Diagram Tecumseh TC300-3136 Engine Recoil Starter for use with General 210 Hole Digger TECUMSEH TC300, FORM PM9109901, VERSION 1.0, AUTHORIZATION: DVR, PAGE: 5 I can't believe it took me this long to do a video on the governor springs on a Tecumseh mower. I replace a manual throttle and do a demo of governor springs...
Tecumseh OHH50-68023G Engine Parts List #1 Exploded View parts lookup by model. Complete exploded views of all the major manufacturers. It is EASY and FREE
Tecumseh Governor Springs and Linkage Parts. MSRP: $4.80. MSRP: $2.79. MSRP: $3.65. Used on engine models OHV14-17, TVT691, and others. This is an original Tecumseh oil seal which is designed with specific material and tension on the sealing area for each application to ensure proper fit and sealing. ID approximately 1-1/2 in .
Shop great deals on Tecumseh Throttle. Get outdoors for some landscaping or spruce up your garden! Shop a huge online selection at eBay.com. Fast & Free shipping on many items!
Tecumseh Carburetor Diagram. Turn screws adjusting both idle and main mixture in (clockwise) finger tight, however over tightening the screws may partially or entirely damage the tapered portion of the needle. After that, slowly back out the screws in a counterclockwise direction to the pre-set position.
Nov 06, 2021 · Tecumseh Throttle Spring Diagram. You should do an inspection of the governor linkage and spring before trying to The best way to do this is to move the throttle from idle to full open and note the For example, on Tecumseh TVS, LEV, TVM, TVXL and other similar engines. Throttle mechanism not retracting on a 10 HP Tecumseh Snow King snowblower.
1-16 of 219 results for "tecumseh throttle spring" Price and other details may vary based on product size and color. Tecumseh 34663 Lawn & Garden Equipment Engine Speed Control Spring Genuine Original Equipment Manufacturer (OEM) Part. 4.6 out of 5 stars 103. $8.50 $ 8. 50.
2. backlash spring 3. governor link 4. governor spring 5. mounting screw 6. speed adjustment screw 7. speed control body 8. speed control lever 9. speed control plunger 1 4 9 7 6 high speed governor adjustment insert throttle link and spring here out to increase in to decrease type i (style 1) type i (style 2) speed adjusting lever 2 3 speed ...
March 10, 2009 - Hello all, just like to introduce myself to the board. I've spent the last week researching this problem, both on google and on here. I haven't found any definitive solutions to my problem. I DO have the tecumseh technician's handbook repair manual "692509.pdf", which is a terrific...
Tecumseh Governor - Governor Spring. We have the Tecumseh Governor - Governor Spring You need with fast shipping and low prices.
HOW TO REPLACE Snowblower Throttle SpringDon't forget to click the 🔔 to turn on Video Notifications for more money saving videos and tips, featuring all the...
Generac 1150 1 Generac Companion 5 000 Watt Portable Generator Carburetor Tecumseh Engine 143 981007 Parts Lookup With Diagrams Partstree
In this video I show you the Carburetor Linkage Configuration On a Tecumseh Lawnmower Engine without a throttle cable. Don’t forget to click the 🔔 to turn on...
Linkage Configuration on 4-5HP Tecumseh Snowblower Engine With Throttle LeverHere is a video for the configuration with a throttle cable going to the engine,...
I need a diagram for the carbureter throttle spring setup for a magnum 49cc 111 plus ice auger sold by Osceola Power equip.prior to 1995. The engine and carbureter are fine, but the 2 springs and connector wire came off from the top of the carbureter and I need to know how to re-attach them. Extra thanks, XXXXX
In these images, you see how the governor spring (arrow) connects to the governed idle link. The idle link is connected to the governor spring via the loop in the governor spring. This setup is the same if the engine is on a gokart, pump, generator, pressure washer, etc. The only variation is how the throttle lever pulls on the governor spring.
Nov 09, 2021 · Tecumseh throttle spring diagram 07032019 07032019 5 comments on tecumseh throttle spring diagram you should do an inspection of the governor linkage and spring before trying to the best way to do this is to move the throttle from idle to full open and note the for example on tecumseh tvs lev tvm tvxl and other similar engines.
Find Tecumseh Small Engine Spring Replacement Parts at RepairClinic.com. Repair your Tecumseh Small Engine Spring for less. Fast, same day shipping. 365 day right part guaranteed return policy.
Questions & Answers for the Tecumseh 34663 Ask us about the Tecumseh 34663 Spring. Please no repair questions. Your Q&A may be posted to Jackssmallengines.com to help other shoppers, like you, with their purchasing decisions. Thank you.
Advice For Hooking Up Your Tecumseh Carb Throttle Linkage On Small H And Hs Engines Oldminibikes Com
Throttle Lever Remove the throttle lever and spring and file off the peened end of the throttle shaft until the lever can be removed. Install the throttle spring and lever on the new carburetor with the self-tapping screw furnished. If dust seals are ... Tecumseh 4 cycle engines are equipped with mechanical type governors. The governor's ...
30 Tecumseh Governor Spring Diagram Circular Flow Diagram We have the governor spring you need with fast shipping and great prices. ... Throttle Spring Diagram Questions Answers With Pictures Fixya Parts For Briggs Stratton 130g32 0022 F1 Armature Controls
In this video I show the proper Carburetor and Governor Linkage configuration on the 8hp to 11hp Tecumseh snowblower engine. Visit my channel for more repair...
There is no throttle control--only a tab that is bolted to the intake manifold, which holds the throttle open. The solid wire still runs from the throttle of the carburetor to the top hole of the governor, as shown in the previous diagrams. In regards to the other pieces, the spring will connect to the hole in the tab and the other end
651025 Genuine Tecumseh Throttle Crack Screw/Idle Speed Screw. Our Price: $1.75. Add To Cart. R7735 Governor Spring Replaces Briggs & Stratton 262572. Replaces Briggs & Stratton 262572. Fits Briggs & Stratton 5 HP Vanguard Models: 104700-104799. COIL: 1/2". OVERALL LENGTH: 1-5/8". Our Price: $1.75.
July 17, 2017 - Tecumseh engines are built for use in lawnmowers and snow blowers. Common problems that affect the governor on a Tecumseh engine are that the engine runs either too fast or too slow or that the engine surges or hunts.
Tecumseh Throttle Spring Diagram. You should do an inspection of the governor linkage and spring before trying to The best way to do this is to move the throttle from idle to full open and note the For example, on Tecumseh TVS, LEV, TVM, TVXL and other similar engines. Throttle mechanism not retracting on a 10 HP Tecumseh Snow King snowblower ...
Engine Parts List #1 diagram and repair parts lookup for Tecumseh HM80-155066 - Tecumseh Engine. ... Cap, Lower valve spring. Part# 32581. OEM Warranty Repair Part for Tecumseh. Usually leaves our warehouse in 1 business day. ... Link, Governor lever-to-throttle.
Tecumseh 5hp Throttle Linkage Diagram. Written By Unknown Tuesday, November 24, 2015 Add Comment. Edit. I need a schematic on the throttle and governor linkage connections on a 5 hp tecumseh engine on a 5 hp 22 craftsman high wheel trimmer. I bought a craftsman snow blower 5hp 22 cut for real cheap it runs and it was in great condition.
Tecumseh Hm100 Governor Setup Lawnsite Is The Largest And Most Active Online Forum Serving Green Industry Professionals
Carburetor diagram tecumseh. ... It proves the big help under ... DeOnna Padilla. recipes. Lawn Mower. Diy Repair. Throttle. Go Kart. Lawn Care. Auto Repair. Repair. Diy Small. Lawn. How do you install the governor spring on a Briggs 5hp Mod. How do you install the governor spring on a Briggs 5hp Mod. 135212 engine? No diagrams are shown in the ...
0 Response to "38 tecumseh throttle spring diagram"
Post a Comment